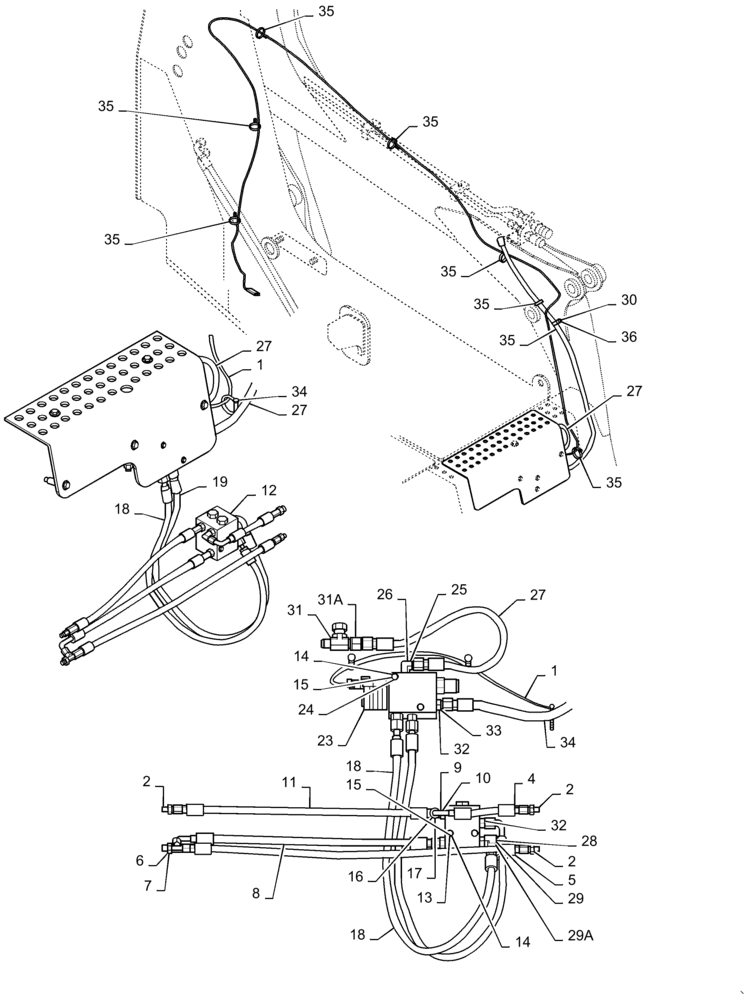
Запчасти Case IH 445 (08-07) - HYDRAULICS - COUPLER SYSTEM, IF USED (08) - HYDRAULICS

Схема запчастей Case IH 445 - (08-07) - HYDRAULICS - COUPLER SYSTEM, IF USED (08) - HYDRAULICS
15
27
34
17
14
35
2
11
32
35
34
6
5
13
27
7
23
35
36
8
35
9
12
27
2
32
35
35
1
29
16
27
24
33
26
31a
35
2
29a
15
30
31
28
18
25
18
14
10
1
19
18
4
35
FIT
1:1
100%

Артикул

Название

Примечание

Количество

255866A3

CYLINDER ASSY.,Double Acting, 25.4mm Rod, 56.13mm Stroke

56 mm strk; Component Parts Not Serviced Separately

2шт.

1

87446983

WIRE HARNESS

Hydraulic Coupler

1шт.

A149800

FUSE,10 Amp

10 Amp

1шт.

2

265235

HYD CONNECTOR,7/16" - 20 ORB x 7/16" - 20 JIC

Incl. 3

3шт.

3

165202

O-RING,0.072" Thk x 0.351" ID, -904, Cl 6, 90 Duro

1шт.

4

294747A1

HOSE ASSY.,6.35mm ID x 176mm L

176 mm (7 in)

1шт.

5

87437472

HOSE ASSY.

640 mm (25-3/16 in); Cylinder Connection

1шт.

6

86513019

TEE,1-5/16" - 12 ORB x 1-1/4" JIC x 1-1/4" JIC

Incl. 7

1шт.

7

165202

O-RING,0.072" Thk x 0.351" ID, -904, Cl 6, 90 Duro

1шт.

8

87437473

HOSE ASSY.

500 mm (19-3/4 in)

1шт.

9

139398

HYD CONNECTOR,9/16" - 18 ORB x 7/16" - 20 JIC

Incl. 10

2шт.

10

9617873

O-RING,0.078" Thk x 0.468" ID, -906, Cl 6, 90 Duro

1шт.

11

294884A1

HOSE ASSY.

506 mm (20 in)

1шт.

12

294741A1

CHECK VALVE

Component Parts Not Serviced Separately

1шт.

13

86508570

BOLT,Hex, M6 x 80mm OAL, Cl 8.8

2шт.

14

86588450

WASHER,6.6mm ID x 12mm OD x 1.6mm Thk

8шт.

15

87030561

NUT,M6 x 1, Cl 8

4шт.

16

86512934

90 ELBOW,90 Degree, 7/16"-20, 37 Degree x 9/16"-18, O-Ring

Incl. 17

1шт.

17

9617873

O-RING,0.078" Thk x 0.468" ID, -906, Cl 6, 90 Duro

1шт.

18

87426493

HOSE ASSY.,6.35mm ID x 830mm L

830 mm (32-11/16 in)

1шт.

19

87437471

HOSE ASSY.,6.35mm ID x 860mm L

860 mm (33-7/8 in)

1шт.

20

9993143

HYD CONNECTOR,11/16" - 16 ORFS x 9/16" - 18 ORB

Incl. 21, 22

1шт.

21

9993141

O-RING,0.07" Thk x 0.364" ID, -12, Cl 6, 90 Duro

1шт.

22

9617873

O-RING,0.078" Thk x 0.468" ID, -906, Cl 6, 90 Duro

1шт.

23

87421480

HYDRAULIC VALVE

Hydraulic Coupler; Incl. 23A - 23C

1шт.

23a

87562923

VALVE

Sequence Valve Sauer No. CP240-21-B-0-A-C-270

1шт.

23b

87433496

COIL

Sauer No. 322113

1шт.

23c

87562926

VALVE

Sequence Valve Sauer No. CP538-1-U-0-12D-DE

1шт.

24

338413

BOLT,Hex, M6 x 60mm, Cl 8.8

2шт.

25

76344

90 ELBOW,9/16" - 18 JIC x 9/16" - 18 ORB

1шт.

26

9617873

O-RING,0.078" Thk x 0.468" ID, -906, Cl 6, 90 Duro

1шт.

27

87437475

HOSE ASSY.

530 mm (20-7/8 in)

1шт.

28

9840542

ELBOW,90 Degree, 9/16"-18 x 9/16"-18, Adj, ORFS

Incl. 29, 29A

1шт.

29

9617873

O-RING,0.078" Thk x 0.468" ID, -906, Cl 6, 90 Duro

1шт.

29a

9825770

O-RING,0.07" Thk x 0.301" ID, -11, Cl 6, 90 Duro

1шт.

30

87029931

SCREW,Hex Washer, 5/16" - 18 x 1"

5/16-18 x 1 Hex

1шт.

31

86513015

TEE,3/4" - 16 JIC x 3/4" - 16 JIC x 3/4" - 16 JIC

1шт.

31a

86624135

REDUCER,37 Degree, 3/4"-16, Fem x 9/16"-18 Male

1шт.

32

76350

HYD CONNECTOR,9/16" - 18 ORB x 9/16" - 18 JIC

Incl 33

3шт.

33

9617873

O-RING,0.078" Thk x 0.468" ID, -906, Cl 6, 90 Duro

1шт.

34

87437474

HOSE ASSY.

1150 mm (45-9/32 in); Coupler Return; Remove Cap From Tube Fitting On Case Drain Line To Install

1шт.

35

L18331

CABLE TIE,375.9mm L, Nylon, Black

CABLE STRAP

7шт.

36

86637976

CLAMP,19mm, Coat, 8.7mm Bolt Hole, P Type

1шт.

Выбрано товаров: 43