Запчасти Case IH 445 (09-26) - HEAT SHIELD (09) - CHASSIS

Схема запчастей Case IH 445 - (09-26) - HEAT SHIELD (09) - CHASSIS
15
7
10
4
9
17
13
12
11
6
5
8
2
18
18
16
15
16
17
15
5
16
3
1
14
15
2
6
FIT
1:1
100%

Артикул

Название

Примечание

Количество

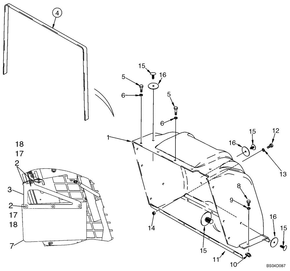
1

426114A1

SHIELD

Heat; Tan

1шт.

87040372

INSULATOR

Insulator for Ref 1; Not Illustrated

1шт.

2

86624183

WASHER,6.6mm ID x 25mm OD x 1.6mm Thk

5шт.

3

87040139

SUPPORT

1шт.

4

250705A2

BAND

1650 mm

1шт.

5

86977786

BOLT,Hex, M6 x 1 x 25mm, Cl 8.8

4шт.

6

86588450

WASHER,6.6mm ID x 12mm OD x 1.6mm Thk

4шт.

7

87043693

SHIELD

1шт.

8

120100

BOLT,M6 x 20mm, Cl 8.8

2шт.

9

86624183

WASHER,6.6mm ID x 25mm OD x 1.6mm Thk

2шт.

10

86625073

SPRING NUT,M6 x 1

2шт.

11

247118A1

BAND

1шт.

12

86977786

BOLT,Hex, M6 x 1 x 25mm, Cl 8.8

4шт.

13

86588450

WASHER,6.6mm ID x 12mm OD x 1.6mm Thk

4шт.

14

87030561

NUT,M6 x 1, Cl 8

4шт.

15

348452A1

FASTENER,Push-In, 37mm L, Nylon

7,14 hole dia; Push-In

13шт.

16

348434A1

WASHER,7.14mm ID x 44.5mm OD x 1.3mm Thk

7,14 ID x 44,5 OD

5шт.

17

86508568

BOLT,Hex, M6 x 1 x 16mm, Cl 8.8

5шт.

18

353308

NUT,M6 x 1.0, Cl 8

5шт.

Выбрано товаров: 19