Запчасти Case IH 445 (06-03) - JOYSTICK VALVE KITS - H PATTERN, LH (WITH PILOT CONTROL) (06) - POWER TRAIN

Схема запчастей Case IH 445 - (06-03) - JOYSTICK VALVE KITS - H PATTERN, LH (WITH PILOT CONTROL) (06) - POWER TRAIN
11
3
13
2
1
8
7
3
6
5
6
4
13
9
4
8
4
9
12
11
11
4
19
FIT
1:1
100%

Артикул

Название

Примечание

Количество

REF

INSTRUCTION

MODELS WITH PILOT CONTROL

1шт.

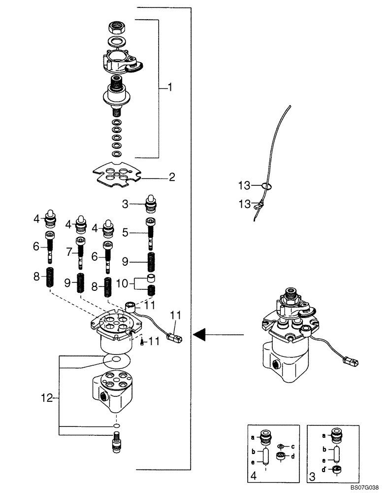
87357240

HYDRAULIC VALVE

Joystick Control; H Pattern Left Hand; Incl. 1 - 5, 6 And 7-13; If Used

1шт.

87740388

HYDRAULIC VALVE

Joystick Control; H Pattern Left Hand; Incl. 1 - 4, 5A, 6A And 7-13

1шт.

1

87548834

SERVICE KIT

Cardan With Detent

1шт.

2

87548836

SERVICE KIT

Retaining Plate, Detent

1шт.

3

87548839

SERVICE KIT

Full Plunger Prefeeling

1шт.

4

87548838

SERVICE KIT

Plunger

3шт.

5

87614018

REGULATOR

If Used

1шт.

5a

87548843

SERVICE KIT

Kit, Prefeeling

1шт.

6

87614017

REGULATOR

With Plunger; If Used

2шт.

6a

84124854

KIT

Kit, With Plunger

2шт.

7

87614016

REGULATOR

1шт.

8

87614020

SPRING

Medium

1шт.

9

87614019

SPRING KIT

Heavy

1шт.

10

87548846

SERVICE KIT

Prefeeling Point

1шт.

11

87548847

SERVICE KIT

Solenoid

1шт.

12

87548848

SERVICE KIT

Standard Seal

1шт.

13

87548874

SERVICE KIT

Cable

1шт.

Выбрано товаров: 18