Запчасти Case IH 445 (06-20) - HYDROSTATICS - TWO SPEED, VALVE ASSY (445 WITH PILOT CONTROL) (06) - POWER TRAIN

Схема запчастей Case IH 445 - (06-20) - HYDROSTATICS - TWO SPEED, VALVE ASSY (445 WITH PILOT CONTROL) (06) - POWER TRAIN
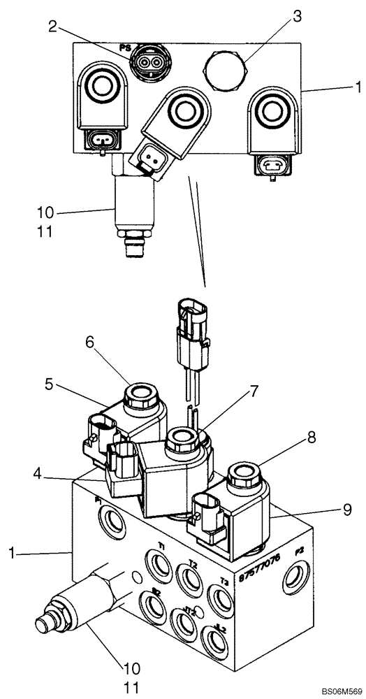
1
10
11
10
6
7
5
3
1
4
11
2
8
9
FIT
1:1
100%

Артикул

Название

Примечание

Количество

1

87577077

PILOT VALVE

Brake Valve; Two Speed; Incl. 1 - 11

1шт.

2

87458061

PRESSURE SWITCH

Brake Valve; Incl. O-Ring Which Is Not Serviced Separately

1шт.

3

NSS

NOT SOLD SEPARAT

Cartridge Valve

1шт.

4

NSS

NOT SOLD SEPARAT

Coil

1шт.

5

NSS

NOT SOLD SEPARAT

Coil

1шт.

6

NSS

NOT SOLD SEPARAT

Sol Valve

1шт.

7

NSS

NOT SOLD SEPARAT

Sol Valve

1шт.

8

NSS

NOT SOLD SEPARAT

Sol Valve

1шт.

9

NSS

NOT SOLD SEPARAT

Coil

1шт.

10

87433497

VALVE

Sequence

1шт.

11

87426545

ORIFICE

.017 Sauer

1шт.

Выбрано товаров: 11