Запчасти Case IH 445 (06-28) - MOTOR ASSY - SINGLE SPEED (06) - POWER TRAIN

Схема запчастей Case IH 445 - (06-28) - MOTOR ASSY - SINGLE SPEED (06) - POWER TRAIN
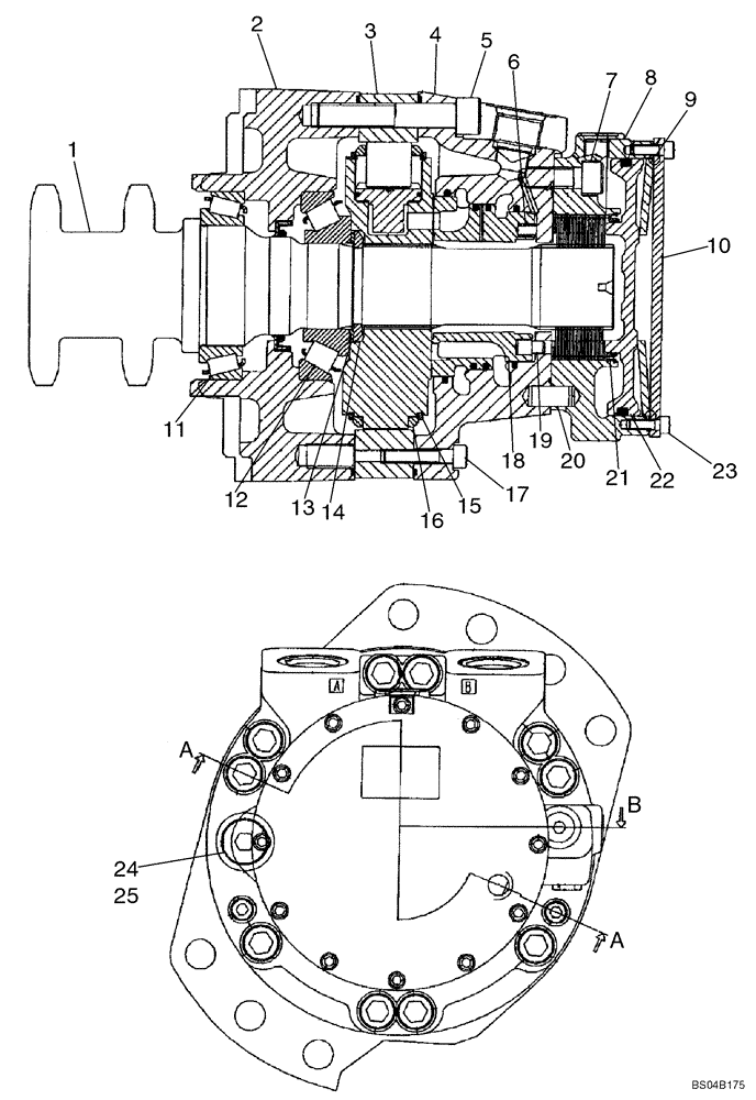
18
13
23
6
4
17
2
8
5
25
10
16
15
19
9
11
24
14
3
20
21
7
1
12
22
FIT
1:1
100%

Артикул

Название

Примечание

Количество

87035451

HYDRAULIC MOTOR

One Speed

2шт.

87035451R

Remanufactured Hydraulic Motor

REMAN-HYD MOTOR

2шт.

87035451C

Return Number

CORE-MOTOR HYDRAULIC

2шт.

1

87039359

BEARING ASSY

Shaft And Bearing

1шт.

2

87042941

CASE

Front

1шт.

3

87042908

CAM

680/470

1шт.

4

87042953

CASE

Rear

1шт.

5

861-14080

HEX SOC SCREW,M14 x 80mm, Cl 12.9

10шт.

6

87042912

SPRING

9шт.

7

86512142

HEX SOC SCREW,M12 x 30mm, Cl 12.9, Full Thd

5шт.

8

87042921

HOUSING

Brake

1шт.

9

87042926

SPRING

Disc

1шт.

10

87042923

COVER

End

1шт.

11

87042904

BALL BEARING,70 mm ID x 110 mm OD x 25 mm

70 x 110 x 25

1шт.

12

87042905

BALL BEARING,50mm ID x 110mm OD x 29.25mm W

50 x 110 x 29.25

1шт.

13

87042903

KIT

Washer

1шт.

14

87042906

RING

Split

1шт.

15

NSS

NOT SOLD SEPARAT

1шт.

16

NSS

NOT SOLD SEPARAT

1шт.

17

861-8040

HEX SOC SCREW,M8 x 40mm, Cl 12.9

2шт.

18

87042954

RING

Distributor

1шт.

19

87042911

PIN

Stop

1шт.

20

87042927

PIN

12 x 25

3шт.

21

87042925

CLIP

87 ID

1шт.

22

87042922

PISTON

Brake Piston

1шт.

23

86512134

HEX SOC SCREW,M6 x 16mm, Cl 12.9

12шт.

24

214389

PLUG,3/4" - 16 ORB

Includes Ref. 25

1шт.

25

128825

O-RING,0.087" Thk x 0.644" ID, -908, Cl 6, 90 Duro

1шт.

Выбрано товаров: 28