Запчасти Case IH 450 (06-32G) - PUMP, TANDEM - CONTROL CARTRIDGE WITH ORIFICE (87546977) (PILOT CONTROL) (06) - POWER TRAIN

Схема запчастей Case IH 450 - (06-32G) - PUMP, TANDEM - CONTROL CARTRIDGE WITH ORIFICE (87546977) (PILOT CONTROL) (06) - POWER TRAIN
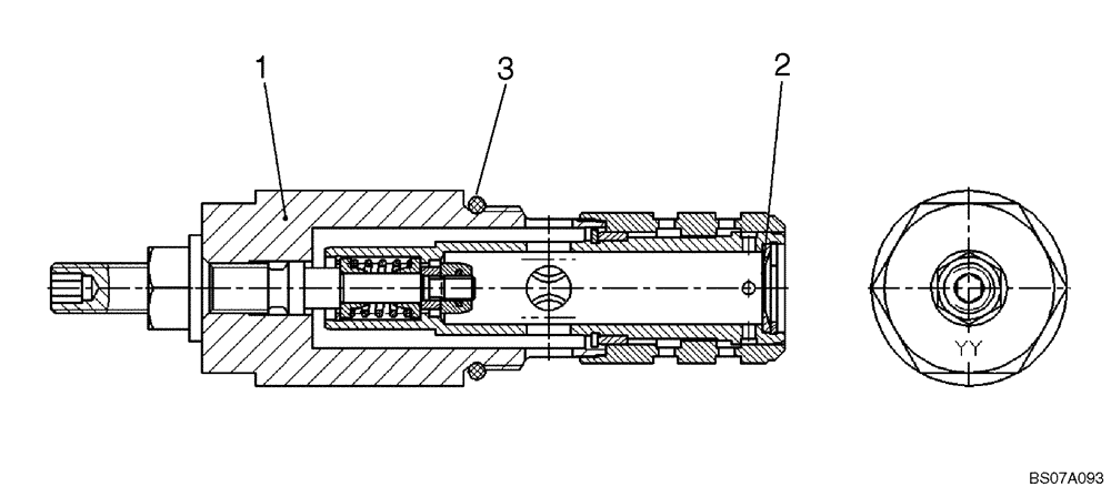
3
1
2
FIT
1:1
100%

Артикул

Название

Примечание

Количество

87546977

PUMP,46 CC

Rexroth A22; If Used; Incl. 06-32 - 06-32G

1шт.

87546977R

Remanufactured Hydraulic Pump

REMAN-HYD PUMP

1шт.

87546977C

Return Number

CORE-HYDRAULIC PUMP

1шт.

87614031

VALVE PRESSURE RELIE

Control Cartridge With Orifice; Incl. 1 - 3

1шт.

1

NSS

NOT SOLD SEPARAT

Control Cartridge Without Orifice

1шт.

2

87597285

RING

Back Up Ring

1шт.

3

87597284

O-RING

O-Ring

1шт.

Выбрано товаров: 7