Запчасти Case IH 450 (06-36) - MOTOR ASSY - SINGLE SPEED (06) - POWER TRAIN

Схема запчастей Case IH 450 - (06-36) - MOTOR ASSY - SINGLE SPEED (06) - POWER TRAIN
15
16
2
10
24
25
12
8
3
21
18
17
9
14
20
23
22
11
6
5
13
4
7
1
19
FIT
1:1
100%

Артикул

Название

Примечание

Количество

87035343

MOTOR, HYDRAULIC

One Speed; Incl. Figure 06-36 - 06-38; Models With Split Pump Configuration

2шт.

87035343R

Reman for New PN 87035343

REMAN-HYD MOTOR

2шт.

87035343C

Return Number

CORE-MOTOR HYDRAULIC

2шт.

87367732

HYDRAULIC MOTOR

One Speed; Incl. Figure 06-36 - 06-38; Models With In-Line Pump Configuration

2шт.

87367732R

Remanufactured Hydraulic Motor

REMAN-HYD MOTOR

2шт.

87367732C

Return Number

CORE-MOTOR HYDRAULIC

2шт.

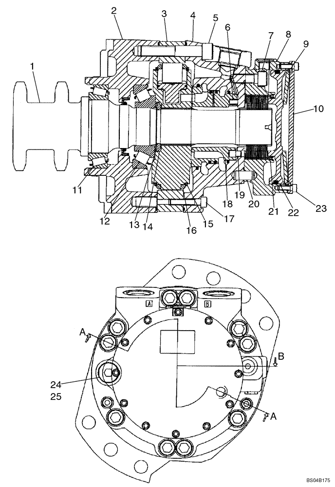
1

87039363

BEARING ASSY

Shaft And Bearing

1шт.

2

87043019

CASE

Front

1шт.

3

87043922

CAM

680/470; Part of 87035343

1шт.

3

87385583

CAM

660/457; Part of 87367732

1шт.

4

87042953

CASE

Rear

1шт.

5

861-14080

HEX SOC SCREW,M14 x 80mm, Cl 12.9

10шт.

6

87042912

SPRING

9шт.

7

86512142

HEX SOC SCREW,M12 x 30mm, Cl 12.9, Full Thd

5шт.

8

87042921

HOUSING

Brake

1шт.

9

87042926

SPRING

Disc

1шт.

10

87042923

COVER

End

1шт.

11

87042904

BALL BEARING,70 mm ID x 110 mm OD x 25 mm

70 x 110 x 25

1шт.

12

87042905

BALL BEARING,50mm ID x 110mm OD x 29.25mm W

50 x 110 x 29.25

1шт.

13

87042903

KIT

Washer

1шт.

14

87042906

RING

Split

1шт.

15

NSS

NOT SOLD SEPARAT

1шт.

16

NSS

NOT SOLD SEPARAT

1шт.

17

861-8040

HEX SOC SCREW,M8 x 40mm, Cl 12.9

2шт.

18

87042954

RING

Distributor

1шт.

19

87042911

PIN

Stop

1шт.

20

87042927

PIN

Dowel, 12 x 25

3шт.

21

87042925

CLIP

87 ID

1шт.

22

87042922

PISTON

Brake

1шт.

23

86512134

HEX SOC SCREW,M6 x 16mm, Cl 12.9

12шт.

24

214389

PLUG,3/4" - 16 ORB

Includes Ref. 25; Part of 87035343

1шт.

24

NSS

NOT SOLD SEPARAT

Shipping Plug; Part of 87367732

1шт.

25

237-6008

O-RING,0.087" Thk x 0.644" ID, -908, Cl 6, 90 Duro

1шт.

Выбрано товаров: 33