Запчасти Case IH 450 (06-42) - MOTOR ASSY - TWO SPEED (450 WITH IN-LINE PUMP/PILOT CONTROL) (06) - POWER TRAIN

Схема запчастей Case IH 450 - (06-42) - MOTOR ASSY - TWO SPEED (450 WITH IN-LINE PUMP/PILOT CONTROL) (06) - POWER TRAIN
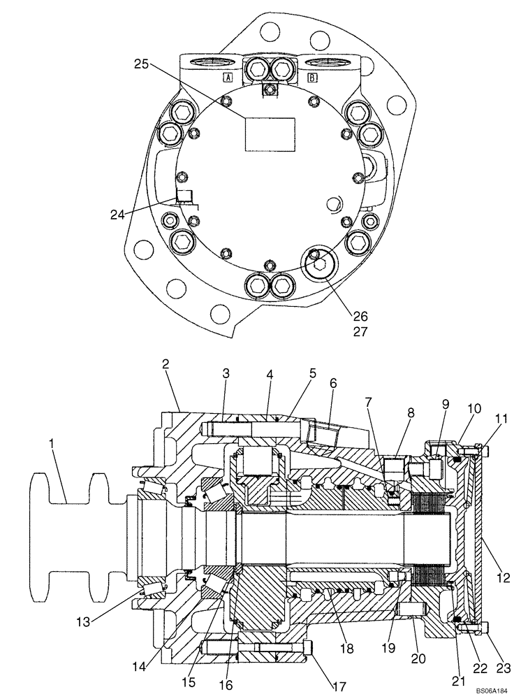
27
11
3
2
10
12
7
9
5
24
14
26
22
21
23
18
20
19
4
1
17
8
6
13
25
16
15
FIT
1:1
100%

Артикул

Название

Примечание

Количество

87349721

HYDRAULIC MOTOR,660CC

Two Speed; Incl. Figure 06-42 - 06-44

2шт.

87349721R

REMAN-HYD MOTOR

450 - SKID STEER, TIER 2, P.I.N. N7M458414 & PRIOR, 2 Speed

2шт.

87349721C

CORE-MOTOR HYDRAULIC

Return Number

2шт.

1

87039364

BEARING ASSY

Shaft And Bearing

1шт.

2

87043019

CASE

Front

1шт.

3

861-14080

HEX SOC SCREW,M14 x 80mm, Cl 12.9

10шт.

4

87385583

CAM

MCR3/5

1шт.

5

87042909

CASE

1шт.

6

NSS

NOT SOLD SEPARAT

Shipping Plug

1шт.

7

87042912

SPRING

16шт.

8

NSS

NOT SOLD SEPARAT

Shipping Plug; 3/4-16

1шт.

9

86512142

HEX SOC SCREW,M12 x 30mm, Cl 12.9, Full Thd

5шт.

10

87042921

HOUSING

Brake Housing

1шт.

11

87042926

SPRING

Disc Spring

1шт.

12

87042923

COVER

End

1шт.

13

87042904

BALL BEARING,70 mm ID x 110 mm OD x 25 mm

70 x 110 x 25

1шт.

14

87042905

BALL BEARING,50mm ID x 110mm OD x 29.25mm W

50 x 110 x 29.25

1шт.

15

87042903

KIT

Washer

1шт.

16

87042906

RING

Split

1шт.

17

861-8040

HEX SOC SCREW,M8 x 40mm, Cl 12.9

2шт.

18

87042910

DISTRIBUTOR

1шт.

19

87042911

PIN

Stop

1шт.

20

87042927

PIN

12 x 25

3шт.

21

87042925

CLIP

87 ID

1шт.

22

87042922

PISTON

Brake

1шт.

23

86512134

HEX SOC SCREW,M6 x 16mm, Cl 12.9

12шт.

24

NSS

NOT SOLD SEPARAT

Shipping Plug; 9/16 -18

2шт.

25

NSS

NOT SOLD SEPARAT

Label

1шт.

26

214389

PLUG,3/4" - 16 ORB

Includes Ref. 27

1шт.

27

128825

O-RING,0.087" Thk x 0.644" ID, -908, Cl 6, 90 Duro

1шт.

Выбрано товаров: 30