Запчасти Case IH 450 (09-08) - CHASSIS (450) (09) - CHASSIS

Схема запчастей Case IH 450 - (09-08) - CHASSIS (450) (09) - CHASSIS
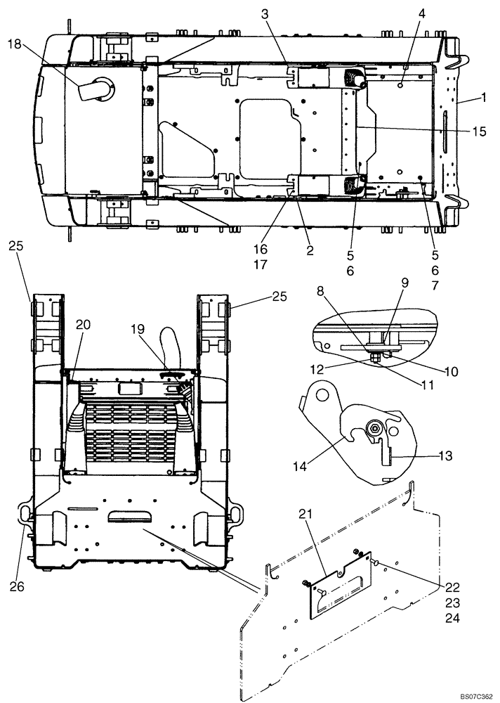
5
6
10
13
5
1
21
6
25
11
26
19
20
7
4
14
16
2
25
9
3
12
23
8
17
15
22
24
18
FIT
1:1
100%

Артикул

Название

Примечание

Количество

1

87449856

SERVICE KIT

450 Chassis Kit; Order From Wholegoods; Incl. Frame 87618146 Used in Production, Ref 19, 20, 27, Figure 04-07 ref 21, 22, 23, Decal 251745A1, And Various Plugs

1шт.

1

87618153

450 FRAME; Models With In-Line Pump Configuration; Used in Production; Replaces 87618146, 87371072

1шт.

1

87458174

450CT FRAME; Used in Production

1шт.

2

REF

INSTRUCTION

Right Hand Control Console; See Figure 09-10

1шт.

3

REF

INSTRUCTION

Left Hand Control Console; See Figure 09-10

1шт.

4

87433644

PLATE

1шт.

5

43127

BOLT,Hex, M8 x 1.25 x 25mm, Cl 8.8

6шт.

6

86625263

WASHER,9mm ID x 20mm OD x 1.6mm Thk

6шт.

7

122158A1

NUT,M8, U

4шт.

8

294967A1

WASHER

Latch Mounting

1шт.

9

87381

WASHER,0.81" ID x 1.47" OD x 0.13" Thk

3шт.

10

278332A1

SPRING WASHER

M12 x 30; 10.9

1шт.

11

294943A1

STUD

13/16 x 1-15/32 x 1/8; Latch Mounting

1шт.

12

100016

NUT,M10 x 1.5, Cl 8

2шт.

13

294911A2

HOOK

Plate Latch Return

1шт.

14

294910A1

LATCH

1шт.

15

87437250

COVER

Heel Plate; Flat; If Used

1шт.

15

87430673

ANGLE

Heel Plate; With Convex In Center; If Used

1шт.

16

86511826

SCREW,Phillips Drive, Pan HD, M5 x 16mm

4шт.

17

86509828

LOCK WASHER,M5

4шт.

18

REF

INSTRUCTION

Hood, Rear; See Figure 09-14

1шт.

19

257448A1

CAP

Oil Filler; Incl. 292259A1

1шт.

292259A1

SEAL

Filler Cap; Not Illustrated

1шт.

20

H436887

CAP

Fuel Filler

1шт.

21

87041290

PLATE ASSY.

1шт.

22

86512446

CARRIAGE BOLT,M10 x 1.5 x 30mm, Cl 8.8

2шт.

23

86624176

WASHER,11mm ID x 20mm OD x 2mm Thk

2шт.

24

86512554

NUT,M10 x 1.5, Cl 10

2шт.

25

295761A1

PIVOT

Boss, Pivot

2шт.

26

87422323

PLATE

Rear Tie Down Brackets

2шт.

27

86991034

PLUG

Rubber Axle Access Plugs (Approx 5.25" OD); Not Illustrated

4шт.

Выбрано товаров: 31