Запчасти Case IH 450 (03-02B) - CONTROLS - THROTTLE; IF USED, SEE REF 16 (03) - FUEL SYSTEM

Схема запчастей Case IH 450 - (03-02B) - CONTROLS - THROTTLE; IF USED, SEE REF 16 (03) - FUEL SYSTEM
27
13
2
1
18
15
26
20
11
17
18
10
6
8
12
21
14
3
19
16
22
7
9
4
23
5
24
25
FIT
1:1
100%

Артикул

Название

Примечание

Количество

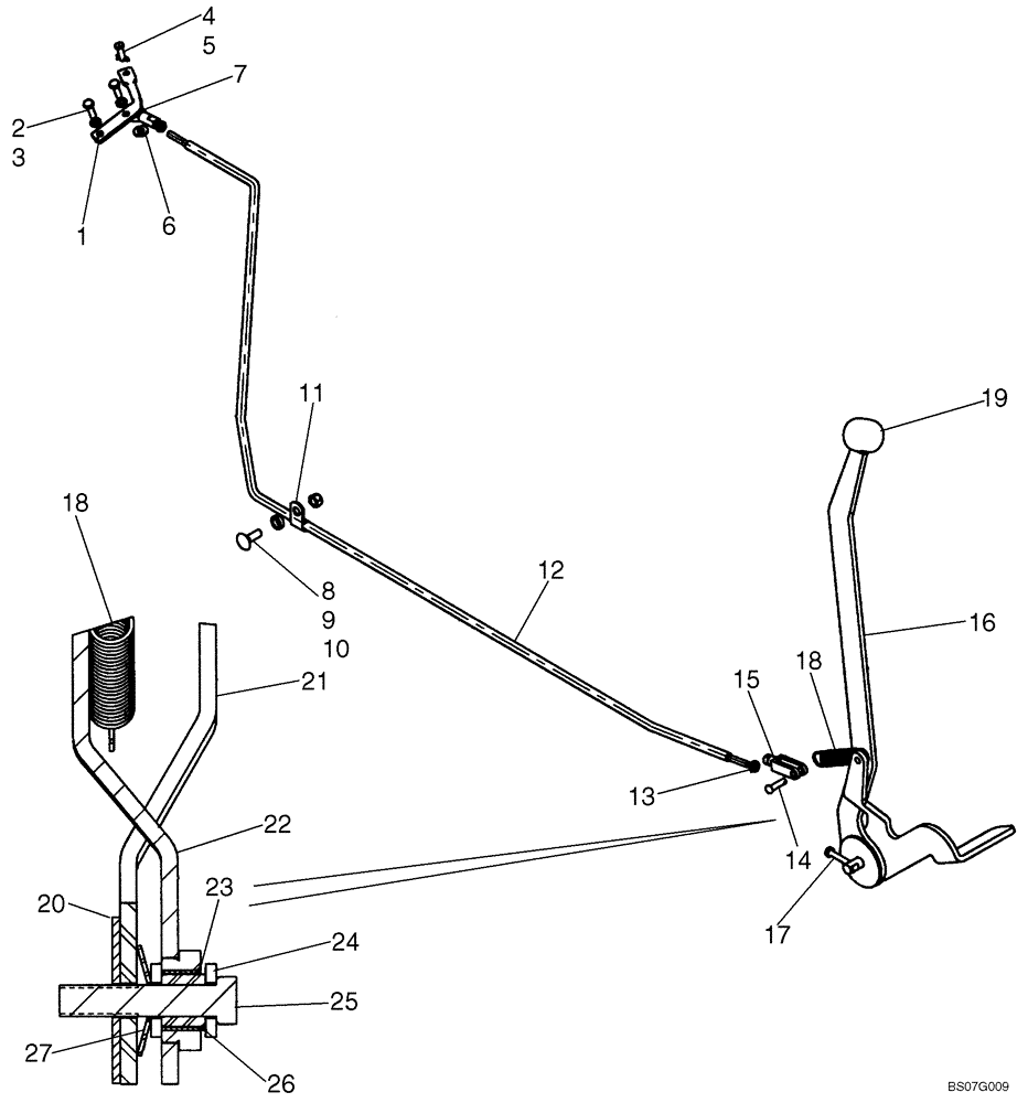
1

87608065

ROD

1шт.

2

120100

BOLT,M6 x 20mm, Cl 8.8

2шт.

3

86517328

LOCK WASHER,6.1mm ID x 11.8mm OD x 1.7mm Thk

2шт.

4

87597960

CLEVIS PIN,6.35mm OD x 19.56mm L

1шт.

5

D131983

COTTER PIN,1.04mm OD x 21.4mm L, Ring

1шт.

6

87361

WASHER,0.28" ID x 0.62" OD x 0.07" Thk

1шт.

7

A146456

BALL

1шт.

8

694371

SPACER,9.77mm ID x 15.87mm OD x 5.03mm Thk

1шт.

9

9628098

NUT,M8 x 1.25, Cl 10

1шт.

10

86636815

CARRIAGE BOLT,Sq Nk, M8 x 25mm, Cl 8.8, Full Thd

1шт.

11

87028524

CLAMP,11.1mm, Coat, 10.3mm Bolt Hole, P Type

1шт.

12

87602734

ROD

1шт.

13

86976064

JAM NUT,Jam, 1/4"-28, G5

2шт.

14

D23693

AXLE PIN

1шт.

15

87622861

CLEVIS PIN

Replaces 86520436

1шт.

16

87610132

THROTTLE CONTROL

Incl. 1 - 27

1шт.

17

43117

SCREW,Hex, M6 x 1.0 x 30mm, Cl 8.8

1шт.

18

D124939

SPRING

1шт.

19

A177436

KNOB

1шт.

20

1342374C1

DISC

1шт.

21

186904A1

CONTROL LEVER

1шт.

22

87601406

THROTTLE

1шт.

23

187035A2

SLEEVE

1шт.

24

86625256

WASHER,13.3mm ID x 28.5mm OD x 4mm Thk

2шт.

25

87612749

BOLT,Hex, M12 x 60mm, Cl 10.9

M12 x 60 10.9

1шт.

26

186905A1

BUSHING

1шт.

27

R14771

WASHER

1шт.

Выбрано товаров: 0