Запчасти Case IH 450 (04-11) - HARNESS - CAB, SEAT BAR (04) - ELECTRICAL SYSTEMS

Схема запчастей Case IH 450 - (04-11) - HARNESS - CAB, SEAT BAR (04) - ELECTRICAL SYSTEMS
6
12
9
20
4
13
18
10
13
15
17
7
8
11
3
5
2
12
19
14
16
FIT
1:1
100%

Артикул

Название

Примечание

Количество

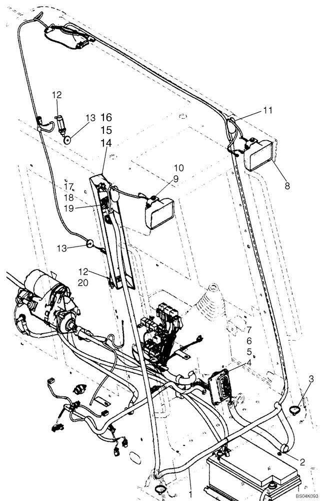
1

87036215

HARNESS

Cab

1шт.

2

515-22270

CLAMP,1-1/16", Insul, 5/16" Bolt

27 mm, M8 Bolt

2шт.

3

529070

CABLE TIE,368.3mm L

CABLE STRAP

1шт.

4

REF

INSTRUCTION

Harness, Main Chassis; See Figure 04-07, Ref 1

1шт.

5

614-6025

BOLT,Hex, M6 x 1 x 25mm, Cl 8.8, Full Thd

2шт.

6

86624181

WASHER,M6

4шт.

7

832-41406

NUT,M6 x 1, Cl 8

2шт.

8

87030137

LAMP BASE

Incl. Bulb 87026085

2шт.

87026085

BULB

1шт.

9

120103

BOLT,M8 x 1.25 x 16mm, Cl 8.8

2шт.

10

322358

BELLEVILLE WASHER,M8 Bolt Size x 18mm OD x 1.4mm Thk

2шт.

11

87460015

GROMMET

2шт.

12

313329A1

SWITCH

Seat Bar; Interlock; See Figure 09-23

2шт.

13

248-1237

GROMMET,1/4" ID x 1" Groove Dia, Diag Cut

Interlock

1шт.

14

87677003

INSTRUMENT CLUSTER

Replaces 87389805, 87354268, 87029538

1шт.

87677003R

REMAN-INSTR CLUSTER

450 SKID STEER, TIER 2, P.I.N. N7M458414 & PRIOR (1/05-12/07), 450CT COMPACT TRACK LOADER - BSN N7M464019 (4/05-12/07)

1шт.

87677003C

CORE-CLUSTER, INSTR

Return number

1шт.

15

280272

HEX SOC SCREW,1/4" - 20 x 3/4"

3шт.

16

86521425

SPRING NUT,Tinn, U, 1/4"-20

3шт.

17

87032970

SWITCH

Ignition; If Used; Incl. Keys, 1964831C2 and Nut, 86400462

1шт.

17

87352774

SWITCH

Ignition; If Used, Used With Instrument Cluster 87354268; Incl. Keys, 1964831C2 and Nut, 86400462

1шт.

18

1964831C2

IGNITION KEY

Ignition

1шт.

19

86400462

NUT

1шт.

20

321390A1

HARNESS

Seat Bar; Interlock

1шт.

Выбрано товаров: 24