Запчасти Case IH 450 (09-22) - HOOD (09) - CHASSIS

Схема запчастей Case IH 450 - (09-22) - HOOD (09) - CHASSIS
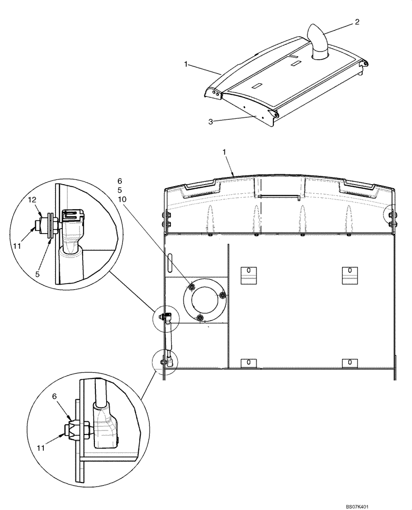
12
5
11
2
5
6
3
10
6
1
1
11
FIT
1:1
100%

Артикул

Название

Примечание

Количество

1

426787A1

COWLING

Lower Hood

1шт.

2

87381264

TUBE,88.9 mm OD x 268, 63.5 mm L

Exhaust Extension; 268 mm (10.55 in) Tall; If Used

1шт.

2

87725355

EXHAUST SYSTEM PIPE

Exhaust Extension; 243 mm (9.57 in) Tall; If Used

1шт.

3

87743080

HOOD

Hood

1шт.

4

86585703

SCREW,Phillips Drive, Pan HD, M8 x 20mm, Cl 4.8

4шт.

5

86625263

WASHER,9mm ID x 20mm OD x 1.6mm Thk

9-11шт.

6

9628098

NUT,M8 x 1.25, Cl 10

8шт.

7

86508568

BOLT,Hex, M6 x 1 x 16mm, Cl 8.8

4шт.

8

86588450

WASHER,6.6mm ID x 12mm OD x 1.6mm Thk

4шт.

9

400472A1

SPRING,10mm Rod, 38.1mm Stroke

1шт.

9

400473A1

CYLINDER ASSY.,186.84mm L, Extended, 148.74mm L, Compressed

No Longer Used, Order 400472A1

1шт.

10

43127

BOLT,Hex, M8 x 1.25 x 25mm, Cl 8.8

3шт.

11

189609A1

BALL STUD,M8 x 1.25

Ball Stud

2шт.

12

229197A1

SQUARE NUT,M8 x 1.25, Cl 8

1шт.

Выбрано товаров: 14