Запчасти Case IH 450 (09-55A) - HEATER AND AIR CONDITIONING ASSEMBLY (09) - CHASSIS

Схема запчастей Case IH 450 - (09-55A) - HEATER AND AIR CONDITIONING ASSEMBLY (09) - CHASSIS
6
41
40
21
8
5
1
19
3
29
7
9
39
9
10
10
4
5
15
27
23
35
4
32
37
11
12
3
4
5
22
24
38
3
17
26
15
3
2
34
9
33
16
13
4
25
4
28
30
3
4
36
7
41
15
20
14
18
3
31
3
4
FIT
1:1
100%

Артикул

Название

Примечание

Количество

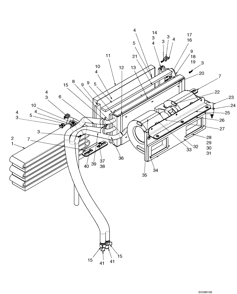
87653393

AIR CONDITIONER,Assembly

Heat And Air Conditioning Unit; Incl 1 - 41 And Figure 09-55

1шт.

1

87656113

EVAPORATOR

Incl 2

1шт.

2

87035782

VALVE

Expansion

1шт.

3

NSS

NOT SOLD SEPARAT

Pan Head Screw, #12 X 3/4 in.

4шт.

4

87656126

CLIP

Recepticle "U" Type

7шт.

5

87656125

SCREW,1.30mm

Wing Head

3шт.

6

87656099

HOSE,15.88 mm ID x 635.00 mm, SAE 20R3

Formed, Short

1шт.

7

87656095

BRACKET

2шт.

8

NSS

NOT SOLD SEPARAT

HVAC Clip

1шт.

9

87756827

SEALING STRIP

Evaporator, Foam Tape, 25.4mm (1 in.) X 151mm (6 in.) Length

3шт.

10

87753901

RETAINER

3шт.

11

87656118

CAB FILTER,362mm L x 160mm W x 24mm Thk, Charcoal

Charcoal, 160mm (6 5/16 in.) X 362mm (14 1/4 in.)

1шт.

12

NSS

NOT SOLD SEPARAT

HVAC Clip

1шт.

13

NSS

NOT SOLD SEPARAT

HVAC Clip

1шт.

14

87756826

FOAM INSULATION

Evaporator Tubes

1шт.

15

NSS

NOT SOLD SEPARAT

Hose Clamp 5/8

4шт.

16

87656112

BRACKET

1шт.

17

NSS

NOT SOLD SEPARAT

Bolt

2шт.

18

87656111

GASKET

Expansion Valve

1шт.

19

87756824

SEAL

Bottom, Filter

1шт.

20

NSS

NOT SOLD SEPARAT

HVAC Clip

1шт.

21

87756820

SEALING STRIP,19.05mm W x 3710.48mm L x 19.05mm Thk

Core

1шт.

22

NSS

NOT SOLD SEPARAT

HVAC Clip

1шт.

23

86625480

THERMOSTATIC SWITCH

Cold Control

1шт.

24

NSS

NOT SOLD SEPARAT

Screw, #8 x 3/4

2шт.

25

87656097

GASKET,3.18mm Thk

Neoprene, Front

1шт.

26

87656106

BRACKET

Front

1шт.

27

87656119

FOAM INSULATION

Filter, 152mm (6 in.) X 375mm (14 3/4 in.)

2шт.

28

87656110

FOAM

Drain Pan

1шт.

29

NSS

NOT SOLD SEPARAT

Bolt, Blower

2шт.

30

87656107

PLATE

Blower Mount

1шт.

31

87656108

GASKET

Blower Outlet

1шт.

32

86592107

ELECTRIC BLOWER

Assy

1шт.

86592107R

450CT SERIES 3 ASN N7M464019, 450 TIER 3 P.I.N. N7M464019 & AFTER Both (1/08 - 3/11)

REMAN-BLOWER

1шт.

86592107C

Return Number

CORE-BLOWER

1шт.

33

87656103

CORE

Heater

1шт.

34

NSS

NOT SOLD SEPARAT

Screw, Panel

8шт.

35

NSS

NOT SOLD SEPARAT

HVAC Clip

1шт.

36

87656120

WIRE HARNESS

HVAC

1шт.

87753900

GASKET

Harness

2шт.

37

87753898

SPACER

Standoff, Plastic

2шт.

38

NSS

NOT SOLD SEPARAT

Screw, M6 x 20

2шт.

39

87656098

HOSE,15.88 mm ID x 635.00 mm, SAE 20R3

Formed, Long

1шт.

40

87656096

GASKET,3.18mm Thk

Neoprene, Bottom

2шт.

41

87035457

TUBE,0.625" DIA x 1.585" L

Beaded 5/8

2шт.

87756825

SEALING STRIP

Fresh Air

2шт.

Выбрано товаров: 46