Запчасти Case IH 465 (02-41) - TURBOCHARGER - PLUMBING (02) - ENGINE

Схема запчастей Case IH 465 - (02-41) - TURBOCHARGER - PLUMBING (02) - ENGINE
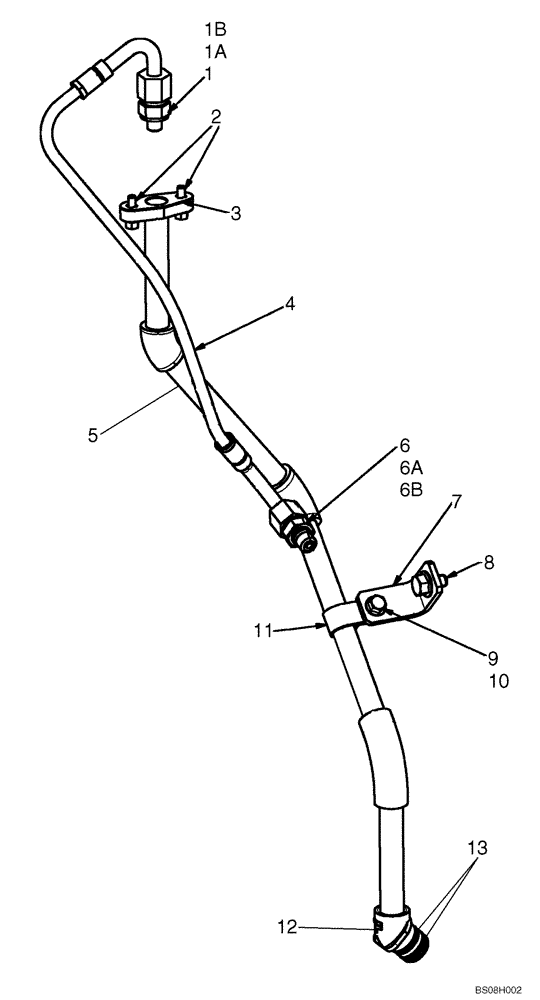
12
10
6b
1a
6a
11
3
1b
2
1
6
13
9
7
5
8
4
FIT
1:1
100%

Артикул

Название

Примечание

Количество

1

4899106

HYD CONNECTOR,11/16" - 16 ORFS x M10 x 1.25 ORB

Male; Incl 1A, 1B

1шт.

1a

4899108

O-RING,0.364mm ID x 0.07mm Width

1шт.

1b

4899106

HYD CONNECTOR,11/16" - 16 ORFS x M10 x 1.25 ORB

1шт.

2

4895164

SCREW,Hex, Flg Hd, M6 x 16

2шт.

3

4899467

GASKET

Oil Drain

1шт.

4

4899377

HOSE

Flexible

1шт.

5

2856347

PIPE

Assy; Turbo Oil Drain; Incl 13

1шт.

6

2857015

HYD CONNECTOR,Hex, M12 x 1.5 x 6.7mm ID x 32mm L

Connector; Incl 6A, 6B

1шт.

6a

4899108

O-RING,0.364mm ID x 0.07mm Width

1шт.

6b

4899106

HYD CONNECTOR,11/16" - 16 ORFS x M10 x 1.25 ORB

1шт.

7

2852196

BRACKET

Turbo Plumbing

1шт.

8

2852323

SCREW,M8 x 1.25 x 14mm

M8 x 1.25 x 14

1шт.

9

2852101

FLANGE BOLT,Hex, M6 x 16mm

1шт.

10

2852197

FLANGE NUT,M6 x 1

1шт.

11

4899519

CLAMP,M16, M6 Bolt

1шт.

12

NSS

NOT SOLD SEPARAT

Connector, Turbo Oil Drain

1шт.

13

2852801

O-RING

2шт.

Выбрано товаров: 17