Запчасти Case IH 465 (04-05) - ELECTRICAL - GRID HEATER (04) - ELECTRICAL SYSTEMS

Схема запчастей Case IH 465 - (04-05) - ELECTRICAL - GRID HEATER (04) - ELECTRICAL SYSTEMS
12
16
3
9
10
15
13
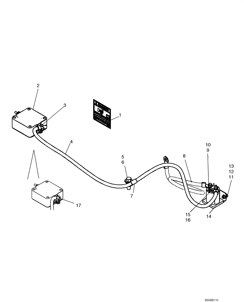
1
7
6
17
2
8
4
5
11
14
FIT
1:1
100%

Артикул

Название

Примечание

Количество

1

629086

DANGER DECAL

If Used

1шт.

2

82017872

HEATER

Grid

1шт.

3

86511444

FLANGE NUT,Hex, M6 x 1

If Used

2шт.

4

87709055

CABLE,1077mm L

Grid Heater, 1077mm (42 3/8 in.)

1шт.

5

87305403

SPACER,13.51mm ID x 19.05mm OD x 17.5mm Thk

If Used

1шт.

6

9670288

BOLT,Hex, M12 x 35mm, Cl 8.8

If Used

1шт.

7

86632595

CLAMP,12.7mm, Coat, 13.5mm Bolt Hole, P Type

1шт.

7

87301588

CLAMP,11.1mm, Coat, 13.5mm Bolt Hole, P Type

Closed 11.1mm Insul 1/2 Bolt

1-2шт.

8

87047862

CABLE,595mm L

Grid Heater, 595mm (23 7/16 in.)

1шт.

9

80681

LOCK WASHER,5/16"

2шт.

10

9626568

JAM NUT,Jam, 5/16"-18, G2

2шт.

11

9706703

CARRIAGE BOLT,Sht Sq Nk, M6 x 1 x 20mm, Cl 8.8, Full Thd

2шт.

12

322357

BELLEVILLE WASHER,M6 Bolt Size x 14mm OD x 1.3mm Thk

2шт.

13

9706755

NUT,M6, Cl 8

2шт.

14

87406968

SOLENOID SWITCH

1шт.

15

80684

LOCK WASHER,4.9mm ID x 8.48mm OD x 1.19mm Thk

1шт.

16

87825

NUT,#10-32

1шт.

17

87493115

Terminal Jumper Bar

BAR

1шт.

Выбрано товаров: 18