Запчасти Case IH 465 (02-01) - RADIATOR - COOLANT RECOVERY SYSTEM (02) - ENGINE

Схема запчастей Case IH 465 - (02-01) - RADIATOR - COOLANT RECOVERY SYSTEM (02) - ENGINE
2
11
8
10
15
16
13
10
5
6
5
12
1
7
15
3
10
11
9
14
10
11
4
FIT
1:1
100%

Артикул

Название

Примечание

Количество

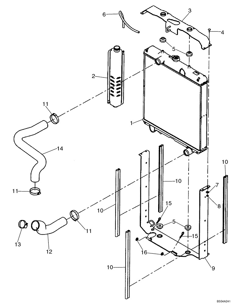
1

87013856

RADIATOR

Incl. 1A, 1B

1шт.

1a

87032485

DRAINCOCK/TAP SUPPLY

Drain

1шт.

1b

87032486

RADIATOR CAP

1шт.

2

87020980

BOTTLE,2L

Incl. Cap 257884A1

1шт.

257884A1

CAP

1шт.

3

87459340

FRAME

Upper Radiator; Component Parts Not Serviced Separately; Replaces 87024337

1шт.

4

280638

CARRIAGE BOLT,Short NK, 1/4"-20 x 3/4", G5, Full Thd

4шт.

5

87017045

CUSHION

4шт.

6

87023941

HOSE,7.9mm ID x 465mm L, SAE 20R3

Coolant Recovery

1шт.

7

322357

BELLEVILLE WASHER,M6 Bolt Size x 14mm OD x 1.3mm Thk

4шт.

8

7770

NUT,Hex, 1/4 - 20, Cl 5

4шт.

9

87393454

FRAME

Lower Radiator; Replaces 87436062

1шт.

10

87033635

SEAL

4шт.

11

86050202

HOSE CLAMP,1.59” - 2.5”, Worm Gear

3шт.

12

87521672

RADIATOR HOSE,45.00 mm ID, 58.00 mm ID x 281.00 mm, SAE 20R4 Class D1 Or D2

Lower, Replaces 87037868

1шт.

13

86625031

CLAMP,52.32mm ID

1шт.

14

87040170

RADIATOR HOSE,45.00 mm ID, 290.00 mm, SAE 20R4 CLASS D1 or D2

Upper

1шт.

15

216698

COTTER PIN,0.125" OD x 1.75" L

If Used

2шт.

16

895-11010

WASHER,11mm ID x 20mm OD x 2mm Thk

If Used

2шт.

Выбрано товаров: 19