Запчасти Case IH 465 (06-26) - MOTOR ASSY - TWO SPEED (06) - POWER TRAIN

Схема запчастей Case IH 465 - (06-26) - MOTOR ASSY - TWO SPEED (06) - POWER TRAIN
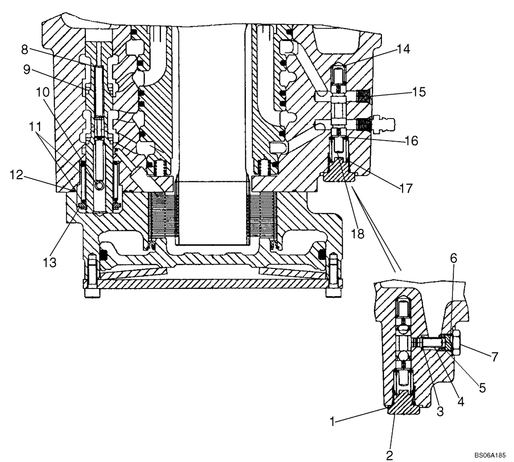
10
15
7
2
12
3
14
1
5
13
16
6
18
9
8
11
4
17
FIT
1:1
100%

Артикул

Название

Примечание

Количество

87349721

HYDRAULIC MOTOR,660CC

Motor; Two Speed; Incl. Figure 06-25 - 06-27

2шт.

87349721R

REMAN-HYD MOTOR

465 BSN N7M452623, 2 Speed

2шт.

87349721C

CORE-MOTOR HYDRAULIC

Return Number

2шт.

1

NSS

NOT SOLD SEPARAT

O-Ring; 11.90 x 1.98; Included in Kit 87039371, See Figure 06-27

1шт.

2

214389

PLUG,3/4" - 16 ORB

Flushing; Includes Ref. 3

1шт.

3

128825

O-RING,0.087" Thk x 0.644" ID, -908, Cl 6, 90 Duro

1шт.

4

87042932

SPRING

Flushing

1шт.

5

87042931

POPPET,RV 1.7 Orifice

1.7 Orifice

1шт.

6

NSS

NOT SOLD SEPARAT

O-Ring; 8.92 x 1.83; Included in Kit 87039371, See Figure 06-27

1шт.

7

87042933

POPPET,Plug, 7/16" SAE

7/16

1шт.

8

87042918

SPRING

Shut Off

1шт.

9

87054826

SPOOL

Spool

1шт.

10

87042917

SPRING

6 x 16

1шт.

11

87054827

KIT

Washer And Spring Kit

1шт.

12

87042916

O-RING,34.65MM ID x 1.78MM Width

34.65 x 1.78

1шт.

13

87042915

CLIP

18 dia

1шт.

14

87042934

SPRING

Flushing Side A

1шт.

15

NSS

NOT SOLD SEPARAT

Shear Plug; M8

2шт.

16

87042929

WASHER

1.5 Thick

1шт.

17

87042935

SPRING

Flushing Side B

1шт.

18

87042928

SPOOL

Flushing

1шт.

Выбрано товаров: 0