Запчасти Case IH 465 (08-30) - CONTROL VALVE - SPOOL END GROUP (08) - HYDRAULICS

Схема запчастей Case IH 465 - (08-30) - CONTROL VALVE - SPOOL END GROUP (08) - HYDRAULICS
1
8
8
1
4
6
3
5
4
7
5
1
2
2
3
7
6
4
FIT
1:1
100%

Артикул

Название

Примечание

Количество

87583285

VALVE

Manual Control Valve; Incl. Figure 08-21 - 08-31

1шт.

87546974

HYDRAULIC VALVE

Manual Control Valve; Models With Pilot Control; Incl. Figures 08-21A - 08-24, 08-27, 08-28, 08-30, 08-32 - 08-35

1шт.

87546975

HYDRAULIC VALVE

Manual Control Valve; Pilot Contro Models With Hydraulic Attachment; Incl. Figures 08-21B - 08-24, 08-28, 08-30, 08-32 - 08-37

1шт.

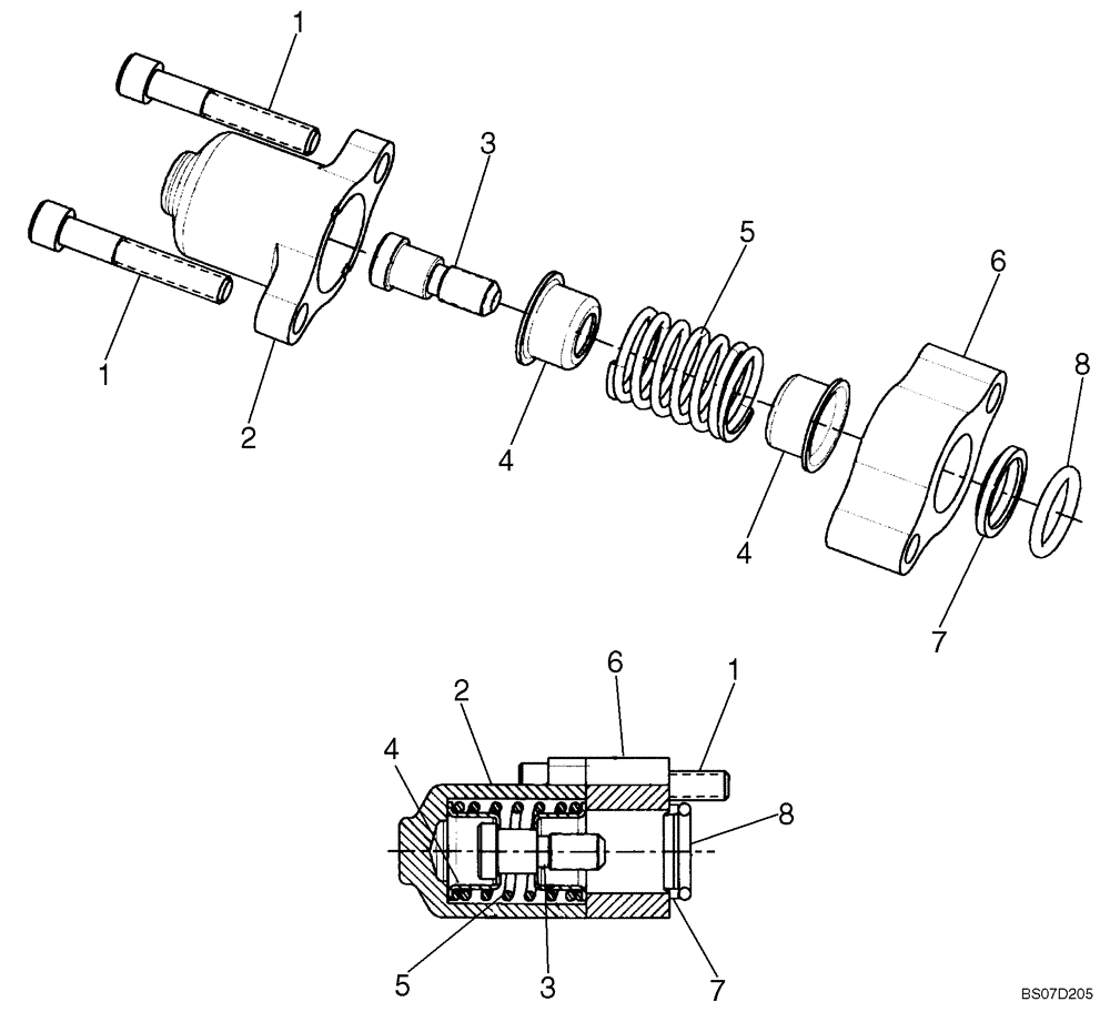
87576168

SPOOL

Spool End Group; Incl. 1 - 8

1шт.

1

NSS

NOT SOLD SEPARAT

Cap Screw

2шт.

2

NSS

NOT SOLD SEPARAT

Spool Cap

1шт.

3

NSS

NOT SOLD SEPARAT

Spool End

1шт.

4

NSS

NOT SOLD SEPARAT

Spring Seat

2шт.

5

NSS

NOT SOLD SEPARAT

Spring

1шт.

6

NSS

NOT SOLD SEPARAT

Plate - Seal

1шт.

7

NSS

NOT SOLD SEPARAT

Wiper

1шт.

8

NSS

NOT SOLD SEPARAT

O-Ring

1шт.

Выбрано товаров: 12