Запчасти Case IH 4125 (08-4) - ELECTRICAL, BREAKER BOX (06) - ELECTRICAL

Схема запчастей Case IH 4125 - (08-4) - ELECTRICAL, BREAKER BOX (06) - ELECTRICAL
FIT
1:1
100%

Артикул

Название

Примечание

Количество

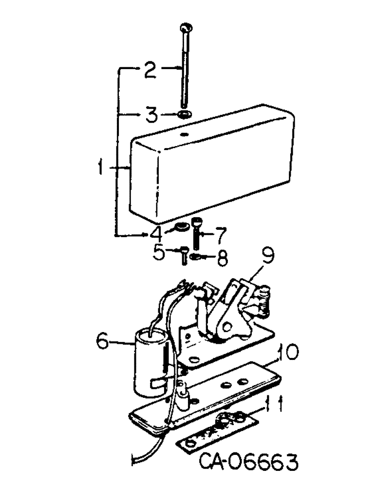
74226C91

BOX

ASSY, breaker

1шт.

1

75358C91

COVER

ASSY

1шт.

2

110508

SCREW,Sl Rnd Hd, #10 - 24 x 1 1/2"

no. 10 x 1-1/2 pln r/hds mach

1шт.

3

74227C1

WASHER

cover mtg

1шт.

4

75359C1

RETAINER, o-ring

1шт.

5

74229C1

SCREW

tapping

1шт.

6

74230C1

CONDENSER

1шт.

Part of Tune Up kit, P/N 75360C91

1шт.

7

426816

SCREW,Hex Soc Hd, 1/4"-20 x 3/4"

1/4 x 3/4 h/shd cap

2шт.

8

492-11025

LOCK WASHER,1/4"

WASHER, LOCK, 1/4"

2шт.

9

74231C1

BREAKER POINTS

POINT ASSY, breaker

1шт.

Part of Tune Up kit, P/N 75360C91

1шт.

10

74232C1

BASE

1шт.

11

74233C1

GASKET

1шт.

75360C91

KIT

tune up, consists of ref. 6 & 9

1шт.

Выбрано товаров: 15