Запчасти Case IH 4140 (07-03) - HYDRAULIC & HYDROSTATIC CONTROLS, LOADER S/N 115 THRU 300 - GAS, LOADER S/N 119 THRU 306 - DIESEL (04) - Drive Train

Схема запчастей Case IH 4140 - (07-03) - HYDRAULIC & HYDROSTATIC CONTROLS, LOADER S/N 115 THRU 300 - GAS, LOADER S/N 119 THRU 306 - DIESEL (04) - Drive Train
FIT
1:1
100%

Артикул

Название

Примечание

Количество

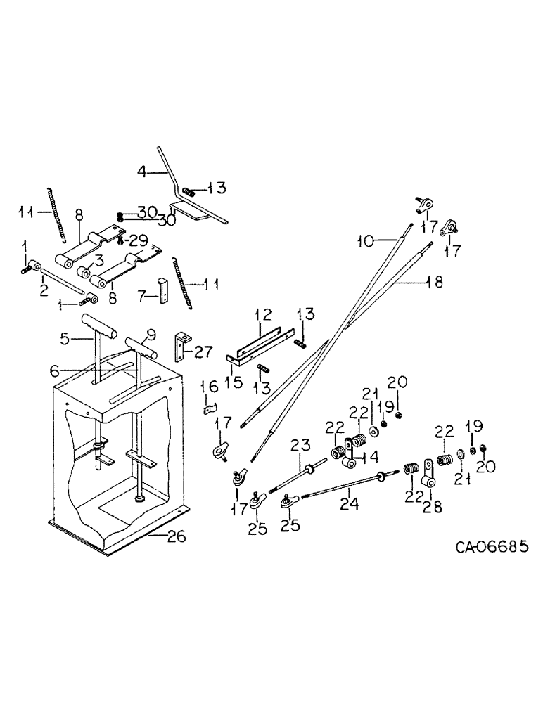
1

76466C1

PIVOT, lock arm

2шт.

120377

NUT,3/8" - 16, Gr 5

4шт.

2

76467C1

ROD, lock arm pivot

1шт.

103385

COTTER PIN,1/8" x 1"

PIN, SPLIT (COTTER), 1/8" x 1"

2шт.

3

127530C1

SPACER, lock arm

1шт.

4

76468C1

LEVER, control lock

1шт.

5

75026C1

LEVER, hydraulic control, Furnished as part of 76990C91

1шт.

72017C1

CONDUIT, hydraulic lever, handle

1шт.

6

73251C1

ROD, drive control, lever, Furnished as part of 76990C91

1шт.

72017C1

CONDUIT, drive lever, handle

1шт.

76911C1

FITTING, bevel, washer

1шт.

7

72031C1

SUPPORT, choke, lever, Gas only

1шт.

413-412

BOLT,Hex, 1/4" - 20 x 3/4", Gr 5

1шт.

120392

WASHER,1/4", SAE

.281 x .625 x .051

4шт.

9413950

LOCK NUT,1/4"-20, GB

NUT, 1/4 phc p/t lock type 5

1шт.

8

76471C1

ARM, control lock

2шт.

9

72210C1

GRIP

handle

4шт.

10

75022C1

ROD, lift

1шт.

120368

NUT,5/16"-24, G5

2шт.

11

72211C1

SPRING

tension

2шт.

12

72023C1

BAR, friction, loose

1шт.

180044

SPRING

1/4 x 2 type 5

2шт.

120392

WASHER,1/4", SAE

.281 x .625 x .051

2шт.

120377

NUT,3/8" - 16, Gr 5

2шт.

120375

NUT,Hex, 1/4" - 20, Gr 5

4шт.

13

76472C1

SPRING

compression, short

3шт.

14

75028C1

LEVER

drive, RH, Gas loader serial number 233 & below, Diesel loader serial number 200 & below

1шт.

73413C1

SUPPORT

retainer

2шт.

180132

BOLT,Hex, 3/8" - 16 x 2 1/4", Gr 5

3/8 x 2-1/4 type 5

1шт.

120377

NUT,3/8" - 16, Gr 5

2шт.

19689R1

PIN,1/4" x 1 1/4", Coiled

1шт.

14

77676C1

LEVER

drive, RH, Gas loader serial number 234 & above, Diesel loader serial number 201 & above

1шт.

26674R1

BOLT,Hex, 1/4" - 20 x 3/4", Gr 8

1/4 x 3/4 phc p/t type 8

1шт.

475642R1

KEY,3/16" Sq x 11/16", Par

3/16 x 11/16 sq parallel

1шт.

20600R1

WASHER

.281 x .750 x .105

1шт.

15

72024C1

BAR, friction, mounted

1шт.

413-412

BOLT,Hex, 1/4" - 20 x 3/4", Gr 5

1шт.

120392

WASHER,1/4", SAE

.281 x .625 x .051

1шт.

120375

NUT,Hex, 1/4" - 20, Gr 5

1шт.

232-4615

LOCK NUT,5/16"-24, GC

NUT, 5/16-NF phc p/t lock type 5

2шт.

16

72032C1

TAB, choke cable retainer, Gas only

1шт.

9413950

LOCK NUT,1/4"-20, GB

NUT, 1/4 phc p/t lock type 5

1шт.

120392

WASHER,1/4", SAE

.281 x .625 x .051

1шт.

413-412

BOLT,Hex, 1/4" - 20 x 3/4", Gr 5

1шт.

120368

NUT,5/16"-24, G5

2шт.

17

72212C1

END ASSY.

END, rod

4шт.

232-4615

LOCK NUT,5/16"-24, GC

NUT, 5/16-NF phc p/t lock type 5

4шт.

18

75023C1

ROD, tilt

1шт.

120368

NUT,5/16"-24, G5

2шт.

19

232-4615

LOCK NUT,5/16"-24, GC

NUT, 5/16-NF phc p/t lock

2шт.

20

120368

NUT,5/16"-24, G5

2шт.

21

72365C1

THRUST WASHER

thrust

2шт.

22

138541C1

SET

PACKAGE, spring

1шт.

23

75024C1

ROD

drive, RH

1шт.

120368

NUT,5/16"-24, G5

1шт.

24

75025C1

ROD

drive, LH

1шт.

120368

NUT,5/16"-24, G5

1шт.

25

72554C1

END

rod, Replaces 72212C1

2шт.

232-4615

LOCK NUT,5/16"-24, GC

NUT, 5/16-NF phc p/t lock type 5

2шт.

26

76990C91

HOUSING ASSY, control, console

1шт.

120382

LOCK WASHER,Helical Spring, 3/8"

WASHER, LOCK, 3/8"

4шт.

120377

NUT,3/8" - 16, Gr 5

4шт.

120394

WASHER,3/8", SAE

WASHER, .406 x .812 x .051

4шт.

27

72672C1

SUPPORT, neutral start switch

1шт.

598796R1

CARRIAGE BOLT,Sht Sq Nk, 1/4" - 20 x 1", Gr 5

BOLT, 1/4 x 1 crg type 5

2шт.

492-11025

LOCK WASHER,1/4"

WASHER, LOCK, 1/4"

2шт.

120375

NUT,Hex, 1/4" - 20, Gr 5

2шт.

28

75029C1

LEVER

drive, LH, Gas loader serial number 233 & below, Diesel loader serial number 200 & below

1шт.

73413C1

SUPPORT

retainer

2шт.

180132

BOLT,Hex, 3/8" - 16 x 2 1/4", Gr 5

3/8 x 2-1/4 type 5

1шт.

120377

NUT,3/8" - 16, Gr 5

2шт.

19689R1

PIN,1/4" x 1 1/4", Coiled

1шт.

28

77677C1

LEVER

drive, LH, Gas loader serial number 234 & above, Diesel loader serial number 201 & above

1шт.

26674R1

BOLT,Hex, 1/4" - 20 x 3/4", Gr 8

1/4 x 3/4 phc p/t type 8

1шт.

475642R1

KEY,3/16" Sq x 11/16", Par

3/16 x 11/16 sq parallel

1шт.

20600R1

WASHER

.281 x .750 x .105

1шт.

29

413-412

BOLT,Hex, 1/4" - 20 x 3/4", Gr 5

1шт.

30

120375

NUT,Hex, 1/4" - 20, Gr 5

2шт.

77925C1

ARM, neutral start switch activator

1шт.

180124

BOLT,Hex, 3/8" - 16 x 1 1/4", Gr 5

3/8 x 1-1/4 type 5

1шт.

9411655

LOCK NUT,3/8"-16, GB

NUT, 3/8 cad p/t lock type 5

1шт.

120394

WASHER,3/8", SAE

WASHER, .406 x .812 x .051, Gas loader serial number 271 thru 300, Diesel serial nunmber 243 thru 306

1шт.

Выбрано товаров: 82