Запчасти Case IH 4140 (12-10) - CARBURETOR, CHRYSLER ENGINE (04) - Drive Train

Схема запчастей Case IH 4140 - (12-10) - CARBURETOR, CHRYSLER ENGINE (04) - Drive Train
FIT
1:1
100%

Артикул

Название

Примечание

Количество

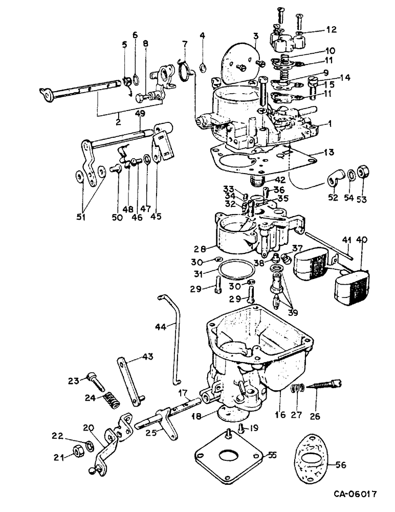
75638C91

CARBURETOR

1шт.

1

NSS

NOT SOLD SEPARAT

COVER, float chamber, furnish carburetor assy

1шт.

2

75639C1

SHAFT, choke lever

1шт.

3

75640C1

PLATE, choke

1шт.

4

NSS

NOT SOLD SEPARAT

WASHER, choke shaft, furnish carburetor assy

1шт.

5

NSS

NOT SOLD SEPARAT

SPRING, furnish carburetor assy

1шт.

6

NSS

NOT SOLD SEPARAT

CLIP, circle, furnish carburetor assy

1шт.

7

75644C1

SPRING, choke control lever

1шт.

8

NSS

NOT SOLD SEPARAT

SCREW, swivel, furnish carburetor assy

1шт.

9

NSS

NOT SOLD SEPARAT

DIAPHRAM, economy, furnish package 75646C91

1шт.

10

NSS

NOT SOLD SEPARAT

SPRING, diaphram, furnish package 75646C91 and package 75686C91

1шт.

11

NSS

NOT SOLD SEPARAT

GASKET, diaphram, furnish package 75646C91 and 75686C91

1шт.

12

NSS

NOT SOLD SEPARAT

WASHER, diaphram, furnish carburetor assy

1шт.

13

NSS

NOT SOLD SEPARAT

GASKET, cover to body, furnish package 75686C91

1шт.

14

NSS

NOT SOLD SEPARAT

SCREW, cover, short, furnish carburetor assy

2шт.

15

NSS

NOT SOLD SEPARAT

WASHER, cover screw, furnish carburetor assy

2шт.

16

NSS

NOT SOLD SEPARAT

BODY, carburetor, furnish carburetor assy

1шт.

17

75650C1

SHAFT, throttle

1шт.

18

NSS

NOT SOLD SEPARAT

PLATE, throttle, furnish carburetor assy

1шт.

19

NSS

NOT SOLD SEPARAT

SCREW, throttle plate, furnish carburetor assy

2шт.

20

NSS

NOT SOLD SEPARAT

LEVER, throttle, furnish carburetor assy

1шт.

21

NSS

NOT SOLD SEPARAT

NUT, throttle lever, furnish carburetor assy

1шт.

22

NSS

NOT SOLD SEPARAT

WASHER, throttle lever, furnish carburetor assy

1шт.

23

NSS

NOT SOLD SEPARAT

SCREW, throttle stop, furnish carburetor assy

1шт.

24

NSS

NOT SOLD SEPARAT

SPRING, throttle stop screw, furnish carburetor assy

1шт.

25

NSS

NOT SOLD SEPARAT

LEVER, floating, furnish carburetor assy

1шт.

26

75659C1

SCREW, idle adjusting

1шт.

27

75660C1

SPRING, idle adjusting screw

1шт.

28

NSS

NOT SOLD SEPARAT

CLUSTER, Venturi, furnish carburetor assy

1шт.

29

NSS

NOT SOLD SEPARAT

SCREW, Venturi, cluster, furnish carburetor assy

2шт.

30

NSS

NOT SOLD SEPARAT

WASHER, Venturi, cluster, furnish carburetor assy

2шт.

31

NSS

NOT SOLD SEPARAT

O-RING, Venturi cluster, furnish carburetor assy

1шт.

32

75663C1

JET, pump

55шт.

33

75664C1

PLUG, pump jet

1шт.

34

75665C1

VALVE, pump discharge

1шт.

35

NSS

NOT SOLD SEPARAT

BALL, pump discharge valve, furnish carburetor assy

1шт.

36

75667C1

JET, slow running

45шт.

37

75668C1

JET, main

67шт.

38

75669C1

JET, compensating

1шт.

39

75670C91

VALVE

AND SEAT ASSY, fuel

1шт.

40

75671C1

FLOAT

1шт.

41

75672C1

AXLE, flat

1шт.

42

75673C1

PUMP, piston

1шт.

43

NSS

NOT SOLD SEPARAT

LINK, furnish carburetor assy

1шт.

44

NSS

NOT SOLD SEPARAT

LINK, interconnecting, furnish carburetor assy

1шт.

45

NSS

NOT SOLD SEPARAT

BRACKET AND CLIP, choke, furnish carburetor assy

1шт.

46

NSS

NOT SOLD SEPARAT

SCREW, bracket and clip to carburetor, furnish carburetor assy

1шт.

47

NSS

NOT SOLD SEPARAT

WASHER, bracket and clip screw, furnish carburetor assy

1шт.

48

NSS

NOT SOLD SEPARAT

CLIP, furnish carburetor assy

1шт.

49

75680C91

LEVER AND SPINDLE, pump

1шт.

50

NSS

NOT SOLD SEPARAT

PIN, pump link pivot, furnish carburetor assy

1шт.

51

NSS

NOT SOLD SEPARAT

WASHER, pivot pin, furnish carburetor assy

2шт.

52

NSS

NOT SOLD SEPARAT

LEVER, internal pump, furnish carburetor assy

1шт.

53

NSS

NOT SOLD SEPARAT

NUT, pump lever internal, furnish carburetor assy

1шт.

54

NSS

NOT SOLD SEPARAT

WASHER, pump lever internal, furnish carburetor assy

1шт.

55

75595C1

ADAPTER, carburetor mounting

1шт.

56

75596C1

GASKET

, Serial Range: adapter-carburetor

1шт.

75597C1

SCREW, Serial Range: adapter-manifold

2шт.

75686C91

PACKAGE

gasket

1шт.

75646C91

PACKAGE

diaphram

1шт.

78169C91

KIT, spring & jet, Loader serial no., Serial Range: -344

1шт.

If engine part not available from CaseIH, try Industrial Irrigation for parts. Phone: 402-463-1377. Located in Hastings, NE.

1шт.

Выбрано товаров: 62