Запчасти Case IH 4140 (12-14) - CYLINDER HEAD, ISUZU ENGINE (04) - Drive Train

Схема запчастей Case IH 4140 - (12-14) - CYLINDER HEAD, ISUZU ENGINE (04) - Drive Train
FIT
1:1
100%

Артикул

Название

Примечание

Количество

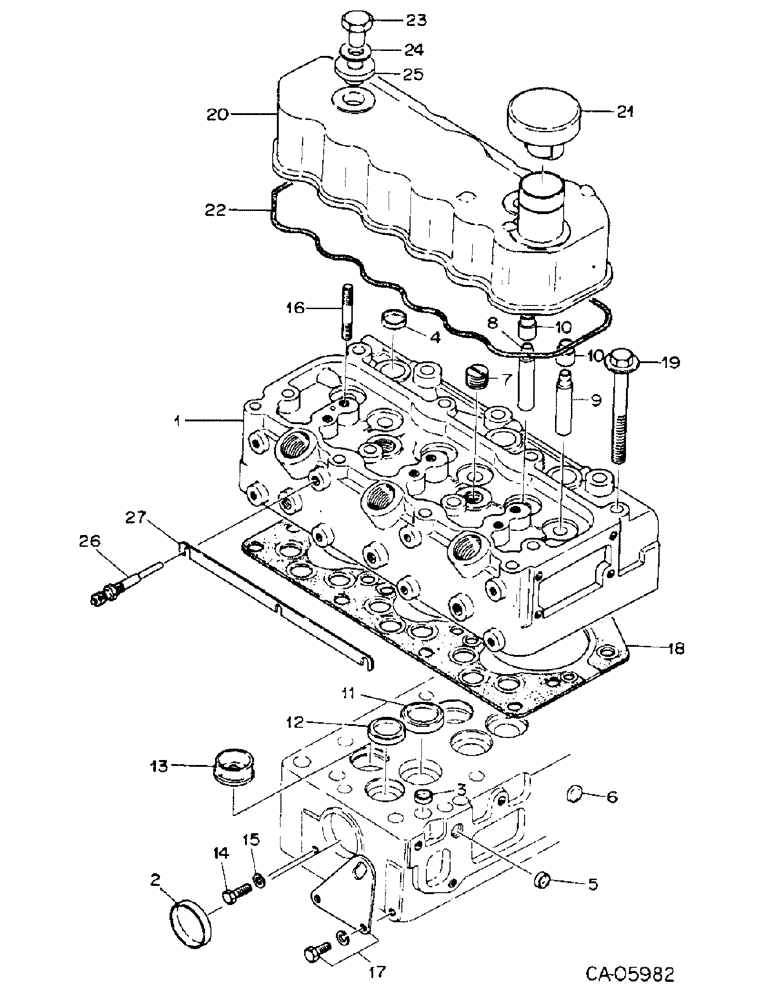
1

74818C91

HEAD ASSY CYLINDER, Includes ref. nos. 2 thru 6

1шт.

2

73946C1

PLUG, cup, rear

1шт.

3

73947C1

PLUG, cup, lower

3шт.

4

73948C1

PLUG, cup, upper

3шт.

5

73949C1

PLUG, drilled passage sealing cup

3шт.

6

73958C1

PLUG, cyl head

3шт.

7

73992C1

PLUG, threaded

2шт.

8

73952C1

GUIDE, intake valve

3шт.

9

73953C1

GUIDE, exhaust valve

3шт.

10

73954C1

SEAL

valve guide

6шт.

11

73955C1

SEAT, intake valve

3шт.

12

73956C1

SEAT, exhaust valve

3шт.

13

74819C1

PLUG

ASSY, hot

3шт.

13

74820C1

PLUG

ASSY, hot

3шт.

14

73950C1

PLUG

1шт.

15

73951C1

WASHER, sealing

1шт.

16

74821C1

STUD, valve cover

2шт.

17

74822C1

HOOK, engine lifting

1шт.

74823C1

BOLT

2шт.

74558C1

WASHER, lock

2шт.

18

74824C1

GASKET

cylinder head

1шт.

19

74825C1

BOLT, cylinder head

15шт.

20

74826C91

COVER ASSY, valve

1шт.

21

74827C1

CAP, oil filter, Furnished as part of 74826C91

1шт.

22

74828C1

GASKET

valve cover

1шт.

23

74829C1

NUT, valve cover

2шт.

24

74830C1

WASHER, valve cover

2шт.

25

74831C1

GASKET

valve cover nut

2шт.

26

73981C1

PLUG

glow

3шт.

27

74832C1

CONNECTOR

1шт.

Выбрано товаров: 30