Запчасти Case IH 4150 (12-03) - POWER, CYLINDER BLOCK, MAZDA ENGINE (04) - Drive Train

Схема запчастей Case IH 4150 - (12-03) - POWER, CYLINDER BLOCK, MAZDA ENGINE (04) - Drive Train
FIT
1:1
100%

Артикул

Название

Примечание

Количество

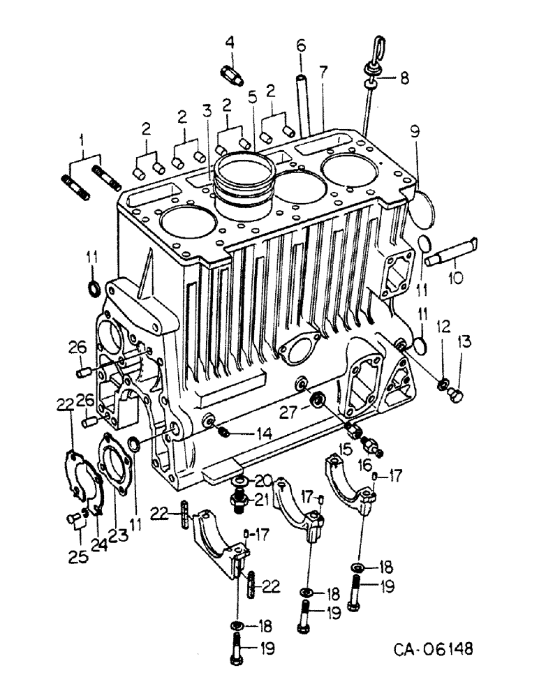
1

75857C1

STUD, fuel pump

2шт.

2

75858C1

PLUG, oil

8шт.

3

75859C1

O-RING, cylinder lining

8шт.

4

75860C1

VALVE, water drain

1шт.

5

75861C1

LINING, cylinder

4шт.

6

75862C1

PIPE, oil lever gauge

1шт.

7

75856C91

BLOCK ASSY, cylinder, Includes ref nos. 1, 2, 3, 4, 5, 6, 9, 10, 11, 12, 13, 14, 17 ,18, 19, 20, 21 and 26

1шт.

8

75875C1

GAUGE, oil level

1шт.

9

75863C1

PLUG, freeze

1шт.

10

75864C1

NOZZLE, oil

1шт.

11

75865C1

PLUG, freeze

4шт.

12

75866C1

WASHER, sealing

1шт.

13

75867C1

PLUG

1шт.

14

75868C1

PLUG

1шт.

15

75876C1

UNION, oil pressure switch

1шт.

16

75877C1

SWITCH

oil pressure

1шт.

17

75869C1

PIN, dowel

6шт.

18

75870C1

WASHER, plain

6шт.

19

75871C1

BOLT, bearing cap

6шт.

20

75872C1

GASKET, nipple

1шт.

21

75873C1

NIPPLE, oil pump pipe

1шт.

22

75878C1

SEAL, bearing cap

2шт.

23

75879C1

SEAL, oil

1шт.

24

75880C1

COVER, oil seal

2шт.

25

75881C1

SCREW, oil seal cover

4шт.

75882C1

WASHER, lock

4шт.

26

75874C1

PIN, dowel

2шт.

27

75866C1

GASKET, pressure switch

1шт.

75830C91

KIT, engine overhaul gasket, Consists of

1шт.

75855C1

GASKET

1шт.

75859C1

RING

8шт.

76156C1

RING

4шт.

75838C1

RING

8шт.

76097C1

GASKET

1шт.

76089C1

GASKET

1шт.

75891C1

GASKET

1шт.

76315C1

GASKET

2шт.

76090C1

GASKET

1шт.

76270C1

GASKET

1шт.

75846C1

GASKET

1шт.

75845C1

GASKET

1шт.

76094C1

GASKET

1шт.

75890C1

GASKET

1шт.

75854C1

GASKET

1шт.

75842C1

WASHER

2шт.

120377

NUT,3/8" - 16, Gr 5

4шт.

75878C1

SEAL

2шт.

76087C1

SEAL

1шт.

76181C1

GASKET

1шт.

76271C1

GASKET

1шт.

76187C1

GASKET

2шт.

75834C1

SEAL

4шт.

77956C91

ENGINE ASSY, short block

1шт.

Выбрано товаров: 53