Запчасти Case IH 4150 (12-21) - POWER, CYLINDER HEAD, ISUZU ENGINE (04) - Drive Train

Схема запчастей Case IH 4150 - (12-21) - POWER, CYLINDER HEAD, ISUZU ENGINE (04) - Drive Train
FIT
1:1
100%

Артикул

Название

Примечание

Количество

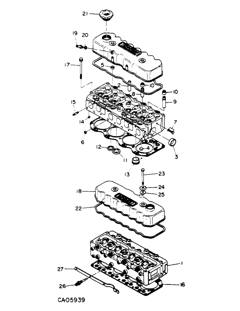
1

73944C91

HEAD ASSY, cylinder

1шт.

2

73945C1

TUBE, push rod

8шт.

3

73946C1

PLUG, cup, rear

1шт.

4

73947C1

PLUG, cup, lower

4шт.

5

73948C1

PLUG, cup, upper

4шт.

6

73949C1

PLUG, drilled passage sealing cup

4шт.

7

73950C1

PLUG

1шт.

73951C1

WASHER, sealing

1шт.

8

73952C1

GUIDE, intake valve

4шт.

9

73953C1

GUIDE, exhaust valve

4шт.

10

73954C1

SEAL

valve guide

8шт.

11

73955C1

SEAT, intake valve

4шт.

12

73956C1

SEAT, exhaust valve

4шт.

13

73957C1

PLUG ASSY, hot

4шт.

14

73958C1

PLUG, cyl head

4шт.

15

73959C1

STUD, manifold

3шт.

15

73969C1

STUD, manifold

4шт.

15

73970C1

STUD, manifold

1шт.

16

73971C1

GASKET, cyl head

1шт.

17

73972C1

BOLT, cyl head

19шт.

18

73973C91

COVER ASSY, valve

1шт.

19

73974C1

TUBE, breather

1шт.

20

73975C1

WASHER

sealing

1шт.

21

73976C1

CAP, oil filter

1шт.

22

73977C1

GASKET

valve cover

1шт.

23

73978C1

BOLT, valve cover

2шт.

24

73979C1

WASHER

2шт.

25

73980C1

WASHER, sealing

2шт.

26

73981C1

PLUG

glow

4шт.

27

73982C1

CONNECTOR

1шт.

Выбрано товаров: 30