Качественные детали и логистика
Оригинальные и аналоговые запчасти с доставкой по России, Казахстану и Беларуси
©2022 PartSell ООО "Система" ИНН 2463123282 ОГРН 1212400004838
Центральный офис: г. Красноярск, Академика Киренского, д.87, пом.4
Телефон: 8 (800) 777-65-74 Email: zakaz@partsell.ru
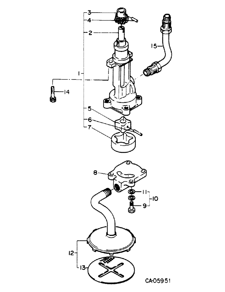
(12-38) - POWER, OIL PUMP, ISUZU ENGINE
№
Артикул
Название
Примечание
Количество
74666C91
PUMP W/STRAINER ASSY, oil
1шт.
1
74667C91
PUMP ASSY, oil
2
74668C1
SHAFT, oil pump drive
3
74669C1
GEAR, oil pump drive
4
74670C1
PIN, gear shaft
5
74671C1
ROTOR, oil pump
6
74672C1
PIN, rotor shaft
7
74673C1
HOUSING, oil pump rotor
8
74674C1
COVER, oil pump
9
74675C1
BOLT, oil pump cover
4шт.
10
74558C1
WASHER, lock
11
74566C1
WASHER, flat
12
74676C1
STRAINER ASSY, oil
13
74677C1
SCREEN, oil strainer
14
74678C1
BOLT, oil pump mounting
2шт.
15
74679C1
TUBE ASSY, oil pump
Выбрано товаров: 0