Запчасти Case IH 4155 (07-01) - DRIVE TRAIN, HYDRAULIC & HYDROSTATIC CONTROLS (04) - Drive Train

Схема запчастей Case IH 4155 - (07-01) - DRIVE TRAIN, HYDRAULIC & HYDROSTATIC CONTROLS (04) - Drive Train
FIT
1:1
100%

Артикул

Название

Примечание

Количество

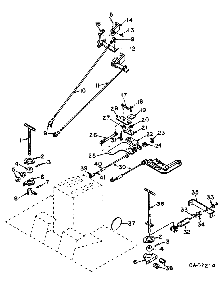
1

79458C1

LEVER, hydraulic

1шт.

72210C1

GRIP

handle

2шт.

2

77806C1

RETAINER

2шт.

3

576517R1

LOCK PIN,1/4" x 1 1/2", Slotted

Pin, 1/4" x 1 1/2", Slotted

5шт.

4

77807C1

BUSHING

BALL, pivot

2шт.

5

73907C1

BUSHING

2шт.

6

77808C1

SUPPORT

ball

2шт.

113-233

BOLT,Hex, 3/8" - 16 x 1-3/4", Gr 5

2шт.

180124

BOLT,Hex, 3/8" - 16 x 1 1/4", Gr 5

3/8 x 1-1/4 type 5

2шт.

120394

WASHER,3/8", SAE

WASHER, .406 x .812 x .051

4шт.

120382

LOCK WASHER,Helical Spring, 3/8"

WASHER, LOCK, 3/8"

4шт.

120377

NUT,3/8" - 16, Gr 5

4шт.

7

617057R1

PIN,1/4" x 1", Coiled

1шт.

8

77809C1

ARM, pivot

1шт.

9

72212C1

END ASSY.

END, rod

4шт.

274558

FAN SWITCH

5/16-NF phc p/t lock type 5

3шт.

10

79459C1

ROD, tilt

1шт.

120368

NUT,5/16"-24, G5

2шт.

11

79460C1

ROD, lift

1шт.

120368

NUT,5/16"-24, G5

2шт.

12

79461C1

HANDLE

2шт.

13

18607R1

LOCK PIN,1/8" x 3/4", Slotted

PIN, 1/8" x 3/4", Slotted

2шт.

14

79462C1

MOUNT, pivot

2шт.

492-11025

LOCK WASHER,1/4"

WASHER, LOCK, 1/4"

4шт.

NLS

NO LONGER SERVICED

1/4 x 9/16 type 5

4шт.

15

79463C1

PIN

2шт.

16

587372R91

CONNECTING LINK

LINK, #2050 double pitch connecting

2шт.

17

79465C1

SPRING

control

2шт.

18

79466C1

STUD, pivot

2шт.

19

79467C1

BAR, thrust, Plate

2шт.

20

79468C1

WASHER

slide

2шт.

21

79469C1

RAMP, RH

1шт.

21

79470C1

RAMP, LH

1шт.

138242

HEX SOC SCREW,3/8" - 16 x 1"

4шт.

22

77815C1

LEVER, RH

1шт.

22

77816C1

LEVER, LH

1шт.

452779R1

KEY,1/4" Sq x 3/4", Par

1/4 x 3/4 sq parallel

2шт.

180188

BOLT,Hex, 1/2" - 13 x 2 3/4", Gr 5

1/2 x 2-3/4 type 5

2шт.

120378

NUT,Hex, 1/2" - 13, Gr 5

NUT, 1/2"-13, G5

4шт.

23

72166C1

THRUST WASHER

thrust

2шт.

24

138540C1

SPRING

4шт.

25

79471C1

MOUNT, rod end

2шт.

492-11025

LOCK WASHER,1/4"

WASHER, LOCK, 1/4"

8шт.

180017

1/4 x 9/16 type 5

8шт.

26

79472C1

LINK

ASSY, control

2шт.

120382

LOCK WASHER,Helical Spring, 3/8"

WASHER, LOCK, 3/8"

4шт.

120377

NUT,3/8" - 16, Gr 5

4шт.

27

79473C91

BEARING, cam follower

2шт.

28

79474C1

BAR, neutral, Arm

2шт.

30

79475C1

ROD, control

2шт.

9413953

LOCK NUT,3/8"-16, GB

NUT, 3/8 phc p/t lock type 5

2шт.

120369

NUT,3/8"-24, G5

2шт.

31

79476C1

BOLT

spring

2шт.

80681

LOCK WASHER,5/16"

WASHER, LOCK, 5/16"

2шт.

120376

NUT,5/16"-18, G5

2шт.

32

79477C1

ABSORBER, shock

1шт.

33

120394

WASHER,3/8", SAE

WASHER, .406 x .812 x .051

1шт.

34

79478C1

BUSHING, shock mount

1шт.

35

79479C1

CHANNEL, shock mount

1шт.

180122

BOLT,Hex, 3/8" - 16 x 1", Gr 5

3/8 x 1 type 5

2шт.

120394

WASHER,3/8", SAE

WASHER, .406 x .812 x .051

2шт.

120382

LOCK WASHER,Helical Spring, 3/8"

WASHER, LOCK, 3/8"

2шт.

120377

NUT,3/8" - 16, Gr 5

2шт.

36

79480C1

LEVER, drive

1шт.

72210C1

GRIP

handle

2шт.

37

77810C1

COVER

2шт.

38

154397C1

SPACER,5/8" Tube x 1 1/4"

5/8 x 1.250 tube

2шт.

39

72213C1

END

3/8 rod

2шт.

120369

NUT,3/8"-24, G5

2шт.

40

77813C1

UNION

adjusting

2шт.

41

77812C1

STUD

2шт.

Выбрано товаров: 71