Запчасти Case IH 4155 (12-05) - POWER, CYLINDER BLOCK (04) - Drive Train

Схема запчастей Case IH 4155 - (12-05) - POWER, CYLINDER BLOCK (04) - Drive Train
FIT
1:1
100%

Артикул

Название

Примечание

Количество

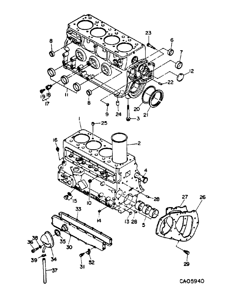
1

73983C91

BLOCK ASSY, cylinder

1шт.

2

73984C1

SLEEVE

cylinder

4шт.

3

73985C1

BOLT

10шт.

4

73986C1

TUBE, water passage

1шт.

5

73987C1

KIT, cam bearing

1шт.

6

73988C1

PLUG, cup D-36

1шт.

7

73989C1

PLUG, cup D-38.42

1шт.

8

73990C1

PLUG, cup D-31.75

2шт.

9

73949C1

PLUG, cup D-12

1шт.

10

73992C1

PLUG, tappet chamber

2шт.

11

73946C1

PLUG, cup D-44.5

3шт.

12

73994C1

PLUG, cam bearing

1шт.

13

73995C1

PLUG, oil gallery

2шт.

14

73996C1

PLUG, oil gallery

2шт.

15

73997C1

PLUG, oil gallery

1шт.

73998C1

WASHER, packing

1шт.

16

73999C1

FITTING, rocker oil feed

1шт.

17

74019C91

VALVE ASSY, water drain

1шт.

18

74495C1

ADAPTER, water drain

1шт.

19

74496C1

PLUG, water drain

1шт.

20

74497C1

SPACER, rear oil seal

1шт.

21

74498C1

SEAL, crankshaft

1шт.

22

74499C1

PIN, straight

1шт.

23

74502C1

BOLT, shoulder

1шт.

24

74503C1

PIN, oil pan

2шт.

25

74504C1

PIN, cylinder block dowel

2шт.

26

74505C1

PLATE, cylinder block front

1шт.

27

74506C1

GASKET, plate

1шт.

28

74507C1

PIN

2шт.

29

74508C1

BOLT, cyl block front plate

3шт.

30

74509C1

COVER, tappet chamber

1шт.

31

74510C1

BOLT, tappet chamber cover

14шт.

32

74511C1

CLIP

2шт.

33

74722C1

GASKET, tappet chamber cover

1шт.

34

74513C1

BREATHER ASSY

1шт.

35

74514C1

GASKET, breather

1шт.

36

74515C1

BOLT, breather

1шт.

37

74516C1

HOSE, breather

1шт.

38

74517C1

WASHER, packing

1шт.

39

74518C1

CLIP, hose

1шт.

74703C91

PACKAGE, engine overhaul gasket, Consists of

1шт.

73971C1

GASKET

1шт.

73977C1

GASKET

1шт.

74498C1

SEAL

1шт.

74506C1

GASKET

1шт.

74722C1

GASKET

1шт.

74514C1

GASKET

1шт.

74521C1

GASKET

1шт.

74525C1

WASHERS

2шт.

74526C1

SEAL

1шт.

74528C1

GASKET

1шт.

74549C1

GASKET

1шт.

74550C1

GASKET

1шт.

74555C1

SEAL

1шт.

72963C1

WASHER

1шт.

73975C1

WASHER

S

8шт.

74572C1

WASHERS

4шт.

74574C1

WASHER

S

4шт.

74553C1

GASKET

WASHERS

4шт.

73975C1

WASHER

S

2шт.

74593C1

GASKET

1шт.

74597C1

WASHERS

2шт.

74600C1

GASKET

1шт.

74615C1

GASKET

1шт.

74624C1

GASKET

1шт.

74779C1

GASKET

1шт.

74633C1

GASKET

1шт.

73126C1

WASHER

1шт.

NSS

NOT SOLD SEPARAT

8 SEALS, valve seat

1шт.

NSS

NOT SOLD SEPARAT

5 SEALS, throttle valve

1шт.

77955C91

ENGINE ASSY, short block

1шт.

Выбрано товаров: 71