Запчасти Case IH SR150 (10.101.02[02]) - VALVE COVER & CRANKSHAFT PULLEY (10) - ENGINE

Схема запчастей Case IH SR150 - (10.101.02[02]) - VALVE COVER & CRANKSHAFT PULLEY (10) - ENGINE
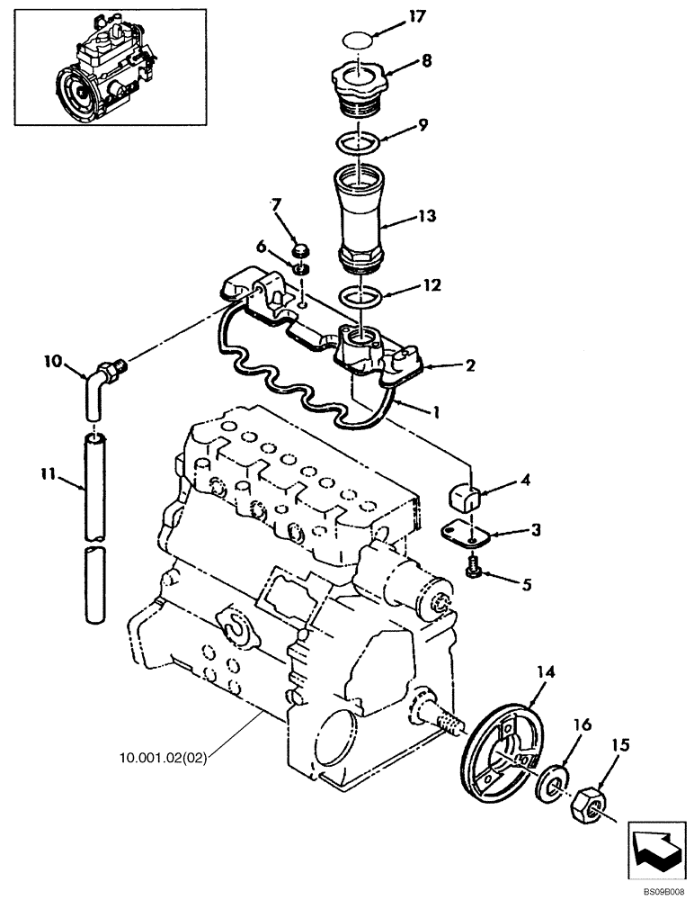
17
8
3
12
16
2
10
15
4
5
11
6
13
14
10.001.02(02)
7
1
9
FIT
1:1
100%

Артикул

Название

Примечание

Количество

1

SBA052109072

O-RING,3mm Thk x 345mm ID, 70 Duro

1шт.

2

SBA111026150

VALVE COVER

Head, Incl. Ref. 3 - 5, 10

1шт.

3

SBA110666050

DEFLECTOR

Oil

1шт.

4

SBA110666090

FILTER

1шт.

5

SBA011310612

CAPTIVE WASHER SCREW,Hex, M6 x 12, Cl 8.8

2шт.

6

SBA131996200

SEAL

4шт.

7

SBA024600010

NUT

Cap

4шт.

8

SBA198436010

FILLER CAP

1шт.

9

SBA052100400

O-RING,3.5mm Thk x 39.7mm ID, 70 Duro

1шт.

10

SBA140986581

ELBOW

1шт.

11

SBA068109092

TUBE

TUBE L170

1шт.

12

SBA052100420

O-RING

1шт.

13

SBA110466031

TUBE

1шт.

14

SBA115391060

PULLEY

Crankshaft Pulley

1шт.

15

SBA020109086

NUT

1шт.

16

86511328

WASHER,25mm ID x 44mm OD x 4mm Thk

1шт.

17

SBA190297900

DECAL

1шт.

Выбрано товаров: 17