Запчасти Case IH SR150 (35.701.AX[02]) - LOADER ARM LINES (SR130,SR150) (35) - HYDRAULIC SYSTEMS

Схема запчастей Case IH SR150 - (35.701.AX[02]) - LOADER ARM LINES (SR130,SR150) (35) - HYDRAULIC SYSTEMS
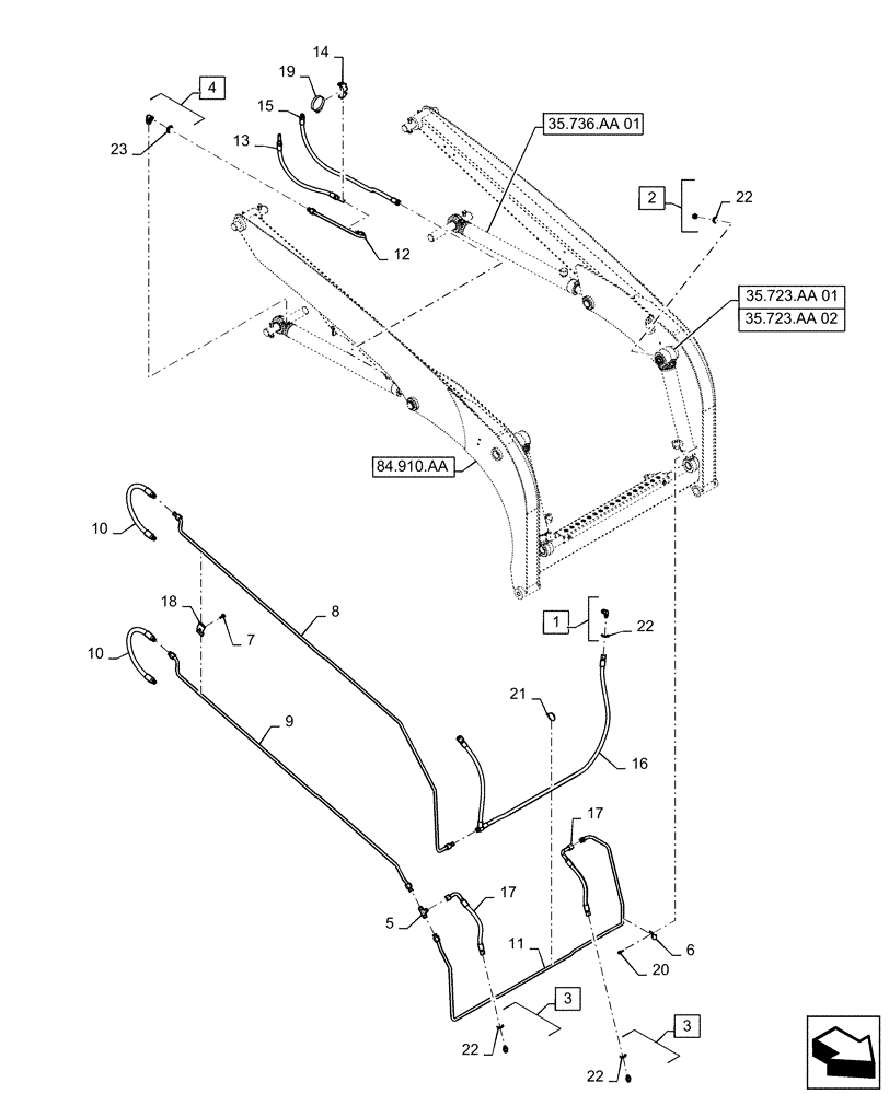
35.723.aa 01
3
16
20
23
3
22
8
22
15
14
18
10
4
19
17
2
10
1
22
5
22
11
13
21
17
7
9
12
6
35.736.aa 01
84.910.aa
35.723.aa 02
FIT
1:1
100%

Артикул

Название

Примечание

Количество

1

76344

90 ELBOW,9/16" - 18 JIC x 9/16" - 18 ORB

Incl 22

2шт.

2

76349

PLUG,9/16" - 18 ORB

Incl 22

2шт.

3

76350

HYD CONNECTOR,9/16" - 18 ORB x 9/16" - 18 JIC

Incl 22

2шт.

4

128830

90 ELBOW,3/4" - 16 JIC x 3/4" - 16 ORB

Incl 23

2шт.

5

128996

TEE,3/4" - 16 JIC x 3/4" - 16 JIC x 3/4" - 16 JIC

1шт.

6

184064

CLIP,12.7mm ID, 8.73mm Bolt Hole, J Type

3шт.

7

280476

SELF-TAP SCREW,HWH, 3/8"-16 x 1"

3шт.

8

47415176

Tip Cyl, Upper

TUBE

1шт.

9

47415178

Tip Cyl, Lower

TUBE

1шт.

10

47415181

Tip Cyl

HYDRAULIC HOSE

2шт.

11

47430751

Tip Cross Over

HYD TUBE

1шт.

12

47504629

Lift Cyl Base

HYD TUBE

2шт.

13

47540692

Lift Cyl Base

HOSE,10mm ID x 547mm L, SAE 100R16

2шт.

14

84255986

HOSE CLAMP

2шт.

15

84263997

Lift Cyl Rod

FLEXIBLE HOSE,9.53mm ID x 955mm L, SAE 100R17

2шт.

16

84264002

Tip Cyl Base

FLEXIBLE HOSE,9.53mm ID x 2045mm L, SAE 100R7

1шт.

17

84264003

Tip Cyl Rod

FLEXIBLE HOSE,9.53mm ID x 385mm L, SAE 100R16

2шт.

18

86501706

CLAMP

3шт.

19

86625033

HOSE CLAMP,77.7mm - 101.6mm, Worm Gear

2шт.

20

87016557

SELF-TAP SCREW,Hex, M8 x 1.25 x 25mm

3шт.

21

L11541

CABLE TIE,203.2mm L, Nylon

2шт.

22

9617873

O-RING,0.078" Thk x 0.468" ID, -906, Cl 6, 90 Duro

2шт.

23

128825

O-RING,0.087" Thk x 0.644" ID, -908, Cl 6, 90 Duro

2шт.

Выбрано товаров: 23