Запчасти Case IH SR150 (10.220.AA[03]) - HAND & FOOT THROTTLE, EH CONTROLS (10) - ENGINE

Схема запчастей Case IH SR150 - (10.220.AA[03]) - HAND & FOOT THROTTLE, EH CONTROLS (10) - ENGINE
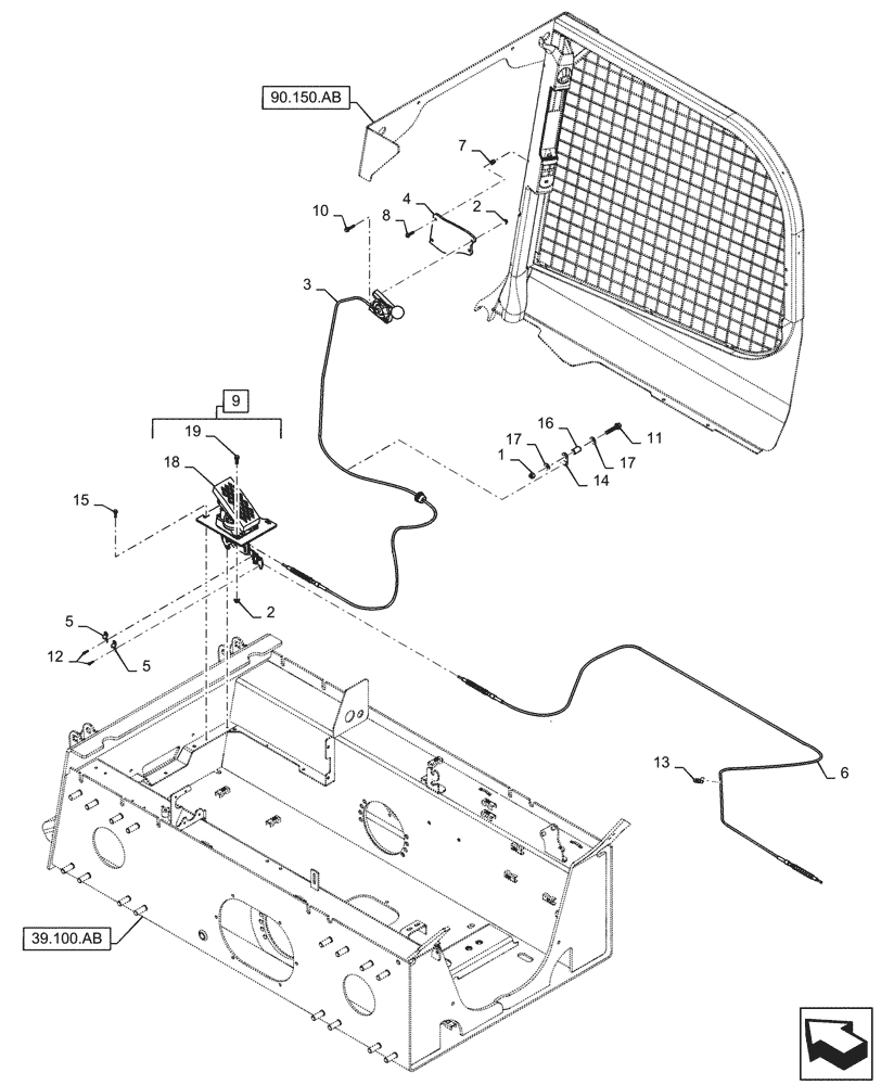
90.150.ab
18
1
7
19
11
5
14
8
9
2
6
5
4
2
12
17
3
15
16
10
13
17
39.100.ab
FIT
1:1
100%

Артикул

Название

Примечание

Количество

1

9637692

NUT,3/8"-16, Gr B

1шт.

2

9804276

FLANGE NUT,Hex, M6 x 1, Cl 8

5шт.

3

84258153

Throttle, Years: -21-MAR-13

HANDLE GRIP

1шт.

3

47409019

Throttle, Start Year: 22-MAR-13

HANDLE

1шт.

4

84333202

Hand Throttle, Years: -21-MAR-13

MOUNT

1шт.

4

47464466

Hand Throttle, Start Year: 22-MAR-13

MOUNT

1шт.

5

84200938

CLAMP

Throttle Cable

2шт.

6

84258820

CABLE,2640mm L

Pedal To Governor

1шт.

7

84272827

RIVET,Flat Flg Head, 12.7mm OD x 17.4mm L

2шт.

8

84305556

SCREW,Round HD, M6 x 1 x 25mm, Cl 10.9

2шт.

9

84374768

Foot Pedal, Incl 2, 18 - 19

THROTTLE

1шт.

10

86511839

BOLT,Hvy Hex, M6 x 30mm, Cl 8.8

2шт.

11

86533830

BOLT,Hex, 3/8" - 16 x 2", Gr 5

1шт.

12

86624126

HEX SOC SCREW,M4 x 16mm, Cl 8.8

4шт.

13

86637978

CLAMP,9.5mm, Coat, 8.7mm Bolt Hole, P Type

1шт.

14

86639010

CLAMP,9.5mm, Coat, 13.5mm Bolt Hole, P Type

1шт.

15

87017606

SELF-TAP SCREW,Hex Flng, M6 x 1 x 20mm

3шт.

16

87022737

SPACER,11.1mm ID x 15.9mm OD x 25mm L

1шт.

17

87655046

SPECIAL WASHER,10.65mm ID x 23mm OD x 2.2mm Thk

2шт.

18

84262611

Foot Throttle, W/ Sensor

PEDAL

1шт.

19

9804256

BOLT,Hex, M6 x 1 x 20mm, Full Thd, Cl 8.8

3шт.

Выбрано товаров: 0