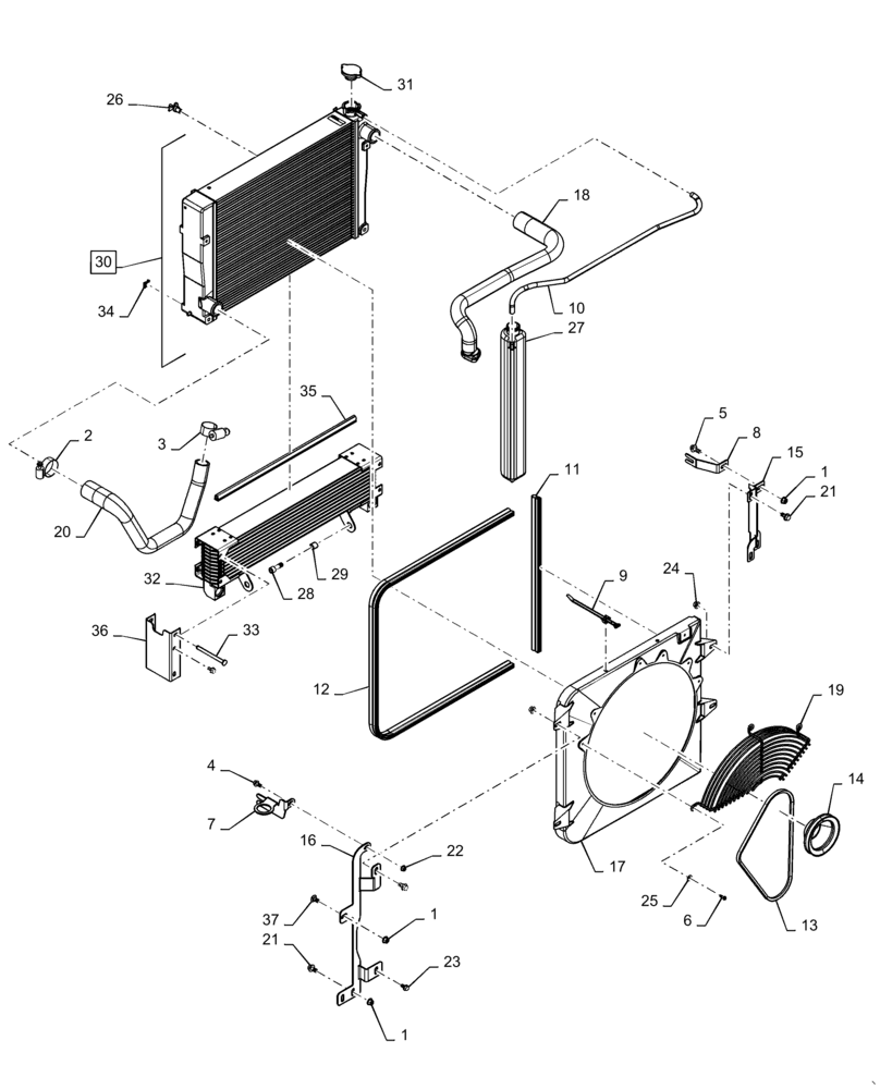
Запчасти Case IH SR150 (10.400.BF) - FAN SHROUD AND ASSOCIATED PARTS (10) - ENGINE

Схема запчастей Case IH SR150 - (10.400.BF) - FAN SHROUD AND ASSOCIATED PARTS (10) - ENGINE
17
19
14
4
27
26
2
20
13
34
1
21
10
22
3
30
11
36
32
25
37
6
15
29
31
1
12
7
5
8
9
1
18
24
33
35
16
21
23
28
FIT
1:1
100%

Артикул

Название

Примечание

Количество

1

43435

FLANGE NUT,Hex, M10 x 1.5

4шт.

2

84674

HOSE CLAMP,33.3mm - 57.1mm, Worm Gear

2шт.

3

507586

HOSE CLAMP,20.6mm - 44.4mm, Worm Gear

2шт.

4

9804258

BOLT,Hex, M8 x 1.25 x 20mm, Cl 8.8

1шт.

5

9804261

BOLT,Hex, M10 x 25mm, Cl 8.8, Full Thd

1шт.

6

84137412

SCREW,Hex Flng, M6 x 18mm

3шт.

7

47681407

Coolant Bottle, Upper

BRACKET

1шт.

8

47516027

BRACKET

Radiator Mount

1шт.

9

84259663

CABLE TIE,228.6mm L, Nylon, Black

2шт.

10

290323

HOSE,5/16" ID x 500 FT L, SAE 30R7

Cut 2.85'

1шт.

11

84277010

Bulb

RUBBER SEAL,576.1mm L

1шт.

12

84277011

Bulb

RUBBER SEAL,1721mm L

1шт.

13

47396938

BELT

1шт.

14

84388643

Fan, ISM

PULLEY,136.73mm OD

1шт.

15

84552138

BRACKET

Fan Shroud, LH

1шт.

16

47681404

Fan Shroud, RH

BRACKET

1шт.

17

47442898

450mm Fan

SHROUD

1шт.

18

47367205

RADIATOR HOSE

Upper

1шт.

19

47376067

GUARD

Fan

1шт.

20

47423130

RADIATOR HOSE

Lower

1шт.

21

86050286

FLANGE BOLT,M10 x 20mm, Cl 8.8

6шт.

22

86505868

SERRATED NUT,Hex, M8 x 1.25, Cl 8

1шт.

23

86511841

BOLT,Flng, M8 x 1.25 x 16mm, Full Thd, Cl 8.8

10шт.

24

86619802

FLANGE NUT,M10 x 1.5, Cl 8

4шт.

25

86624182

WASHER,6.6mm ID x 18mm OD x 1.6mm Thk

3шт.

26

86625234

DRAINCOCK/TAP SUPPLY,1/4" NPTF

1шт.

27

87020980

BOTTLE,2L

Coolant Recovery

1шт.

28

87301277

BOLT,M12 x 71.8mm, Cl 10.9

2шт.

29

87626729

SPACER,12.8mm ID x 25.4mm OD x 25.4mm L

Hinge Pivot

2шт.

30

47362351

RADIATOR

Std Fin Density, Incl 31

1шт.

31

87687375

RADIATOR CAP

1шт.

32

47374706

OIL COOLER

Std Fin Density

1шт.

33

47375204

PIN,9.65mm OD x 120.45mm L

Radiator

2шт.

34

87700737

CLIP

Pin

2шт.

35

84531449

Cooling Package

SEAL

2шт.

36

47511179

Cooler Mounting Gray

CHANNEL

2шт.

37

120041

CARRIAGE BOLT,M10 x 20mm, Cl 8.8

1шт.

Выбрано товаров: 37