Запчасти Case IH SR175 (10.304.AC) - OIL PUMP & SUCTION FILTER (10) - ENGINE

Схема запчастей Case IH SR175 - (10.304.AC) - OIL PUMP & SUCTION FILTER (10) - ENGINE
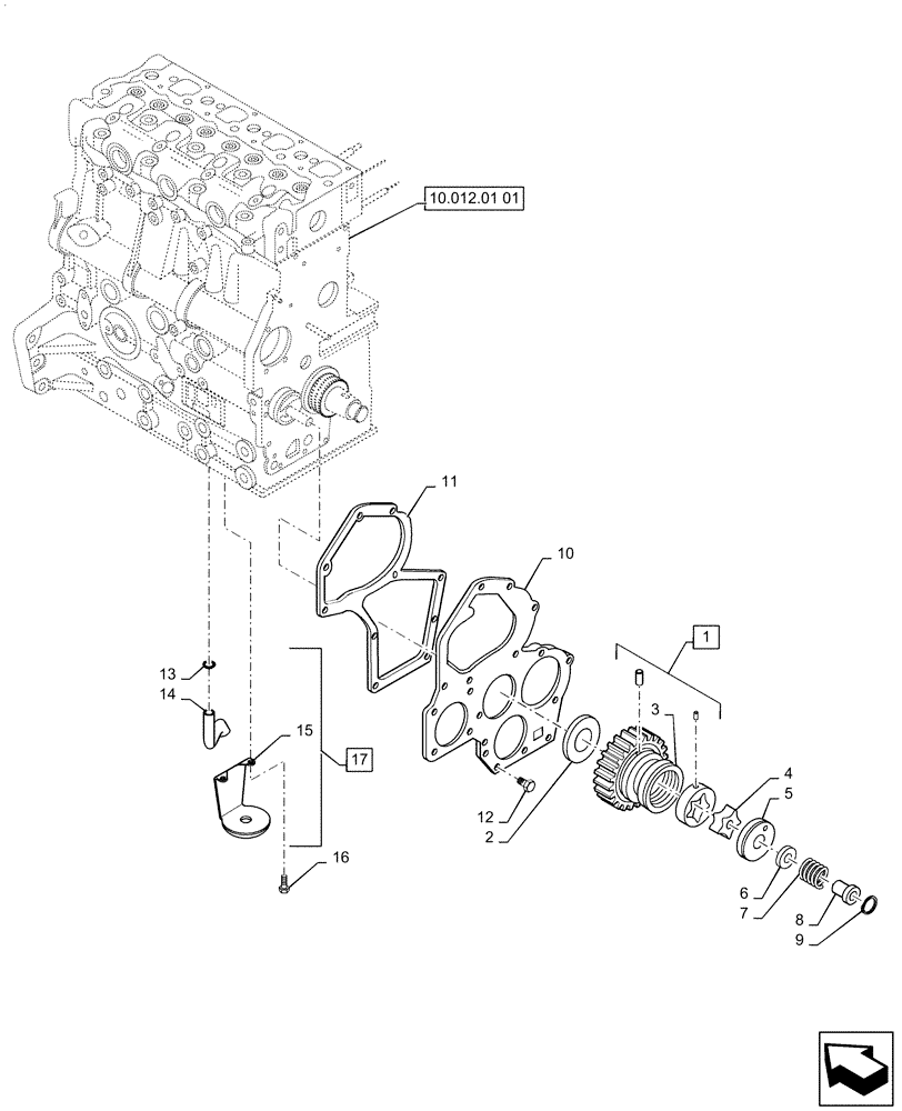
11
13
8
2
9
4
16
17
6
3
10.012.01 01
15
1
10
7
12
14
5
FIT
1:1
100%

Артикул

Название

Примечание

Количество

1

SBA165026230

IDLER GEAR

Incl 3

1шт.

1

SBA165026230R

REMAN-ENG OIL PUMP

1шт.

1

SBA165026230C

CORE-ENGINE OIL PUMP

Return Number

1шт.

2

SBA199266270

WASHER, THRUST

1шт.

3

SBA198216821

SPRING

1шт.

4

SBA140166250

ROTOR

1шт.

5

SBA140116220

COVER

Oil Pump

1шт.

6

SBA199286150

SHIM,0.1mm Thk

1шт.

6

SBA199286160

SHIM,0.15mm Thk

1шт.

6

SBA199286170

SHIM,0.2mm Thk

1шт.

6

SBA199286180

SHIM,0.5mm Thk

1шт.

7

SBA198216720

SPRING

1шт.

8

SBA199236540

COLLAR

1шт.

9

SBA036800010

SNAP RING

1шт.

10

SBA165166650

PLATE

Front

1шт.

11

SBA165996540

GASKET

1шт.

12

SBA011310612

CAPTIVE WASHER SCREW,Hex, M6 x 12, Cl 8.8

2шт.

13

SBA052109076

O-RING,2.4mm Thk x 10.8mm ID

1шт.

14

SBA140986820

TUBE

Oil Pickup

1шт.

15

SBA140406490

FILTER SCREEN

Suction

1шт.

16

SBA011310612

CAPTIVE WASHER SCREW,Hex, M6 x 12, Cl 8.8

2шт.

17

SBA140406770

KIT

Incl 13, 14, 15

1шт.

Выбрано товаров: 22