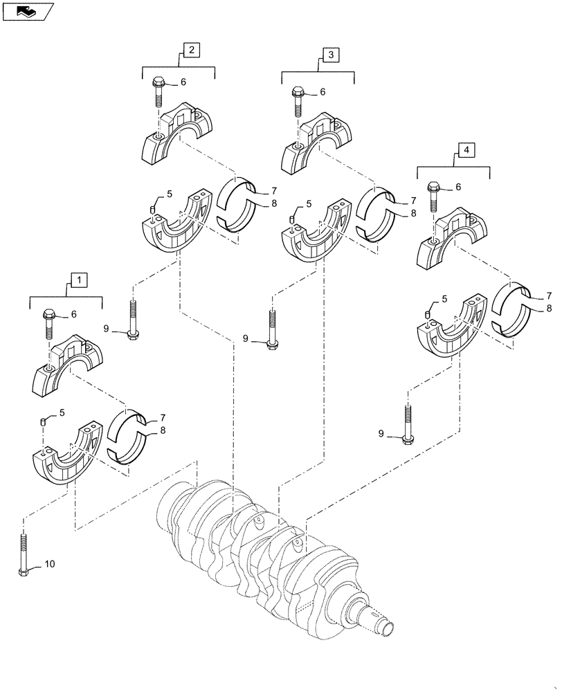
Запчасти Case IH SR175 (10.103.AB) - CRANKSHAFT BEARING (10) - ENGINE

Схема запчастей Case IH SR175 - (10.103.AB) - CRANKSHAFT BEARING (10) - ENGINE
8
2
6
10
7
9
9
5
7
9
8
1
6
5
8
3
6
6
5
7
8
4
home
7
5
FIT
1:1
100%

Артикул

Название

Примечание

Количество

1

SBA110156390

BEARING CAP

Main Bearing, Incl 5 - 6

1шт.

2

SBA110156380

BEARING CAP

Main Bearing, Incl 5 - 6

1шт.

3

SBA110156370

BEARING CAP

Main Bearing, Incl 5 - 6

1шт.

4

SBA110156360

HOLDER

Main Bearing, Incl 5 - 6

1шт.

5

SBA030500612

DOWEL

Pin

8шт.

6

SBA010109406

BOLT

8шт.

7

SBA198517232

BEARING LINER,Std., Upper

Main

4шт.

8

SBA198517242

BEARING LINER,Std., Lower

Main

4шт.

9

SBA010109667

BOLT

Bolt

3шт.

10

SBA010700860

BOLT

2шт.

Выбрано товаров: 10