Запчасти Case IH SR220 (39.100.AB) - CHASSIS (39) - FRAMES AND BALLASTING

Схема запчастей Case IH SR220 - (39.100.AB) - CHASSIS (39) - FRAMES AND BALLASTING
6
6
5
10
6
3
4
4
6
5
5
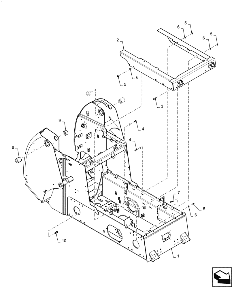
1
2
8
7
9
5
FIT
1:1
100%

Артикул

Название

Примечание

Количество

1

NS

NOT SERVICED

Lower Frame, Radial Tan

1шт.

2

84309634

Upper, Radial, Gray

DRAWBAR FRAME

1шт.

3

337476

BOLT,Hex, M12 x 1.75 x 50mm, Cl 10.9

1шт.

4

9824642

BOLT,M12 x 1.75 x 42.68mm, Cl 10.9

10шт.

5

86512497

FLANGE NUT,M12 x 1.75, Cl 10

12шт.

6

86625256

WASHER,13.3mm ID x 28.5mm OD x 4mm Thk

14шт.

7

87035385

CARRIAGE BOLT,Sht Sq Nk, M12 x 35mm, Cl 8.8, Full Thd

1шт.

8

84331416

Upper Frame to H-Link

HUB

2шт.

9

84201040

Upper Frame to H-Link

HUB

2шт.

10

84162937

STUD,M16 x 50mm, Cl 9.8

Axle Mount

32шт.

Выбрано товаров: 0