Запчасти Case IH SR270 (55.991.010) - TELEMATIC SYSTEM (55) - ELECTRICAL SYSTEMS

Схема запчастей Case IH SR270 - (55.991.010) - TELEMATIC SYSTEM (55) - ELECTRICAL SYSTEMS
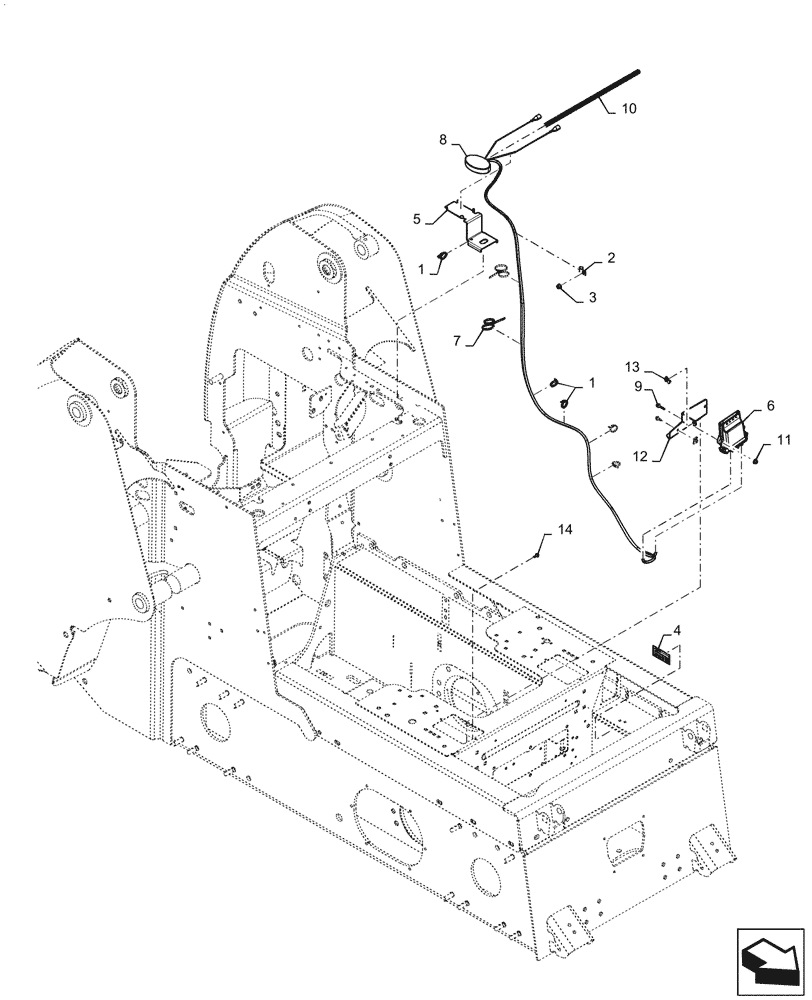
6
14
7
1
13
8
10
1
5
12
11
3
4
9
2
FIT
1:1
100%

Артикул

Название

Примечание

Количество

1

263117

CABLE TIE,292.1mm L, Nylon, Black

6шт.

2

858956

CLAMP,11.1mm, Coat, 8.7mm Bolt Hole, P Type

1шт.

3

9804277

FLANGE NUT,Hex, M8 x 1.25, Cl 8

1шт.

4

47499018

Telematics - Dealer Activation Code

LABEL

1шт.

5

47644122

Telematics Antenna

BRACKET

1шт.

6

47714488

ECU

Assy, CE Telematics

1шт.

7

82012869

CABLE TIE,300mm L, Nylon, Black

2шт.

8

84556851

ANTENNA

CE Telematics

1шт.

9

86511839

BOLT,Hvy Hex, M6 x 30mm, Cl 8.8

2шт.

10

1999528C1

CABLE SHEATH

Conduit Insulation

1шт.

11

9804276

FLANGE NUT,Hex, M6 x 1, Cl 8

2шт.

12

47923112

Telematics, Gray

BRACKET

1шт.

13

86625073

SPRING NUT,M6 x 1

2шт.

14

87682398

SCREW,Torx, Round HD, M6 x 16mm, Cl 10.9

2шт.

Выбрано товаров: 14