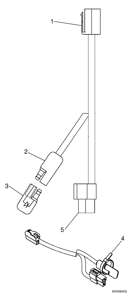
Запчасти Case IH SV185 (55.11.068) - ALTERNATOR BACKFEED HARNESS (55) - ELECTRICAL SYSTEMS

Схема запчастей Case IH SV185 - (55.11.068) - ALTERNATOR BACKFEED HARNESS (55) - ELECTRICAL SYSTEMS
3
4
1
5
2
FIT
1:1
100%

Артикул

Название

Примечание

Количество

84121323

HARNESS

Alternator Backfeed Harness; Incl 1-5

1шт.

1

365121A1

ELEC CONNECTOR,2 Pin

Yazaki; 7123-2128

1шт.

2

NSS

NOT SOLD SEPARAT

Connector Bullet, CNH Style 24

1шт.

3

L71879

DIODE ELEMENT,400V, 3A

Connector Bullet

1шт.

4

263117

CABLE TIE,292.1mm L, Nylon, Black

CABLE STRAP

1шт.

5

NSS

NOT SOLD SEPARAT

Housing Male Yazaki; 7122-2128

1шт.

Выбрано товаров: 6