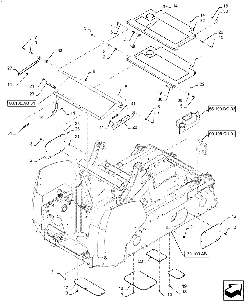
Запчасти Case IH SV250 (90.100.BI[01]) - REAR HOOD AND CHASSIS ACCESS COVERS 01-OCT-2016 AND AFTER (90) - PLATFORM, CAB, BODYWORK AND DECALS

Схема запчастей Case IH SV250 - (90.100.BI[01]) - REAR HOOD AND CHASSIS ACCESS COVERS 01-OCT-2016 AND AFTER (90) - PLATFORM, CAB, BODYWORK AND DECALS
6
28
8
4
14
90.100.au 01
12
13
9
2
26
31
10
11
3
11
7
7
21
29
13
30
16
32
12
15
5
17
21
31
18
13
29
24
13
13
55.100.do 02
14
8
2
30
3
25
16
19
90.105.cu 01
11
20
27
23
13
22
21
15
33
39.100.ab
1
FIT
1:1
100%

Артикул

Название

Примечание

Количество

1

47492775

Rear Deck

PANEL

1шт.

2

189609A1

BALL STUD,M8 x 1.25

, Years: -16-OCT-16

2шт.

2

47974869

BALL STUD,M8 x 1.25 x 32.2mm L, 10mm Ball OD

, Start Year: 17-OCT-16

2шт.

3

86625263

WASHER,9mm ID x 20mm OD x 1.6mm Thk

2шт.

4

43362

NUT,M8 x 1.25, Cl 10

1шт.

5

229197A1

SQUARE NUT,M8 x 1.25, Cl 8

1шт.

6

47513620

SPACER,Pipe, 9.25mm ID x 13.72mm OD x 28.58mm L

1шт.

7

120039

CARRIAGE BOLT,M8 x 1.25 x 54.8mm, Cl 8.8

2шт.

8

86619801

FLANGE NUT,M8 x 1.25, Cl 8

2шт.

9

47513565

SPACER,Pipe, 9.25mm ID x 13.72mm OD x 23.81mm L

1шт.

10

47467486

Hood Lock Tab

ANGLE

1шт.

11

84285339

SELF-TAP SCREW,Hex, M8 x 1.25 x 15mm

4шт.

12

84295151

COVER PLATE,400mm L x 280mm W x 4.75mm Thk

2шт.

13

87030529

SELF-TAP SCREW,HWH, 3/8" - 16 x 7/8"

24шт.

14

84305556

SCREW,Round HD, M6 x 1 x 25mm, Cl 10.9

2шт.

15

86512441

CARRIAGE BOLT,Rnd Head, M6 x 1 x 36.6mm, Cl 8.8

4шт.

16

86619800

FLANGE NUT,M6 x 1, Cl 8

4шт.

17

47717894

PLATE,524.6mm L x 174.6mm W x 6.35mm Thk

1шт.

18

47717914

PLATE,431.6mm L x 303.6mm W x 6.35mm Thk

1шт.

19

47717905

PLATE,225mm L x 150mm W x 6.35mm Thk

1шт.

20

47717909

PLATE,275mm L x 160mm W x 6.35mm Thk

1шт.

21

647429

DRAIN PLUG,Sq Soc HD, 1/2" - 14, NPTF

4шт.

22

86511444

FLANGE NUT,Hex, M6 x 1

2шт.

23

406256A1

HANDLE

Rear Hood

1шт.

24

86511827

SCREW,Phillips Drive, Pan HD, M5 x 20mm, Cl 4.8

2шт.

25

86625264

LOCK WASHER,Ext Tooth, M5

2шт.

26

86639241

NUT,Prev Torque, M5 x 0.8, Cl 8

2шт.

27

47555294

LH, Hood Stop

ANGLE

1шт.

28

47543188

RH, Hood Stop

ANGLE

1шт.

29

47435764

SPACER,6.3mm ID x 9.5mm OD x 13mm L

4шт.

30

87655041

SPECIAL WASHER,6.85mm ID x 13.5mm OD x 2mm Thk

4шт.

31

87702286

220mm

TRIM,Bulk, 1/8" x 30480mm L

1шт.

32

47435698

Exhaust Stack

PLATE

1шт.

33

47513658

SPACER,13.87mm ID x 21.34mm OD x 15.88mm L

1шт.

Выбрано товаров: 34