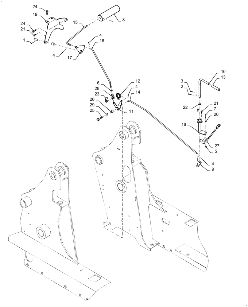
Запчасти Case IH SV300 (39.105.03) - BOOM LOCK (SV300,TV380) BEFORE 1-MAY-2013 (39) - FRAMES AND BALLASTING

Схема запчастей Case IH SV300 - (39.105.03) - BOOM LOCK (SV300,TV380) BEFORE 1-MAY-2013 (39) - FRAMES AND BALLASTING
1
28
10
24
24
22
25
13
16
4
17
5
29
4
21
26
27
15
7
21
2
4
14
4
3
20
19
6
8
23
11
18
9
12
FIT
1:1
100%

Артикул

Название

Примечание

Количество

1

80755

COTTER PIN,1/8" OD x 1" L

1шт.

2

87455

SLOTTED PIN,1/8" OD x 1" OAL

2шт.

3

87663

LOCK PIN,1/8" OD x 3/4" L, Slotted Spring

2шт.

4

280250

COTTER PIN,3/32" OD x 3/4" L

5шт.

5

280859

NUT,Keps, #6-32

2шт.

6

9706690

NUT,M8 x 1.25, Cl 8

1шт.

7

47570937

SCREW,Cross Pan HD, #6-32 x 1-1/8"

2шт.

8

84325375

PIN,50.8mm OD x 192mm L

Boom Lock

1шт.

9

84325531

LEVER

Handle

1шт.

10

84325533

LOCKING HANDLE

1шт.

11

84326066

BELLCRANK

Lower Boom Lock

1шт.

12

84331883

TORSION SPRING,Torsion, 38.1mm OD x 12.19mm L

1шт.

13

84331884

GRIP,76mm L

Vinyl Sleeve

1шт.

14

84385247

Lifting, Lower, Boom Lock

ROD,795mm L

1шт.

15

84401868

ROD,242.2mm L

Pin, Lock, Boom

1шт.

16

84477299

LINK

Rod, Lifting, Vertical Boom Lock

1шт.

17

84573227

BELLCRANK

Upper Boom Lock

1шт.

18

84577899

Handle Pivot

TUBE

1шт.

19

84600471

PIVOT

LH

1шт.

20

86511189

WASHER,0.16" ID x 0.38" OD x 0.05" Thk

2шт.

21

86625224

SELF-TAP SCREW,HWH, 1/4" - 20 x 3/4"

5шт.

22

86629543

O-RING,0.07" Thk x 0.364" ID, -12, Cl 5, 75 Duro

1шт.

23

86629892

CLEVIS PIN,5/16" OD x 0.940" L

1шт.

24

87016557

SELF-TAP SCREW,Hex, M8 x 1.25 x 25mm

3шт.

25

87030530

SELF-TAP SCREW,HWH, 3/8" - 16 x 1-3/4"

1шт.

26

87036413

SPACER,10.34mm ID x 15.88mm OD x 23.8mm L

1шт.

27

87051110

DOOR SWITCH

Boom Lock Sensor

1шт.

28

87602941

ADJUSTABLE CLEVIS,M8 x 16mm, Short

1шт.

29

87655046

SPECIAL WASHER,10.65mm ID x 23mm OD x 2.2mm Thk

1шт.

Выбрано товаров: 29