Запчасти Case IH SV300 (29.212.04[01]) - MOTOR, DRIVE MOTOR 2SPD (SR250,SV300) (29) - HYDROSTATIC DRIVE

Схема запчастей Case IH SV300 - (29.212.04[01]) - MOTOR, DRIVE MOTOR 2SPD (SR250,SV300) (29) - HYDROSTATIC DRIVE
26
23
10
11
32
1
4
22
2
home
28
16
21
34
9
13
17
28
30
18
14
35
5
33
26
1
27
7
27
1
6
3
8
15
9
1
30
24
25
12
29
31
20
9
10
4
12
29
FIT
1:1
100%

Артикул

Название

Примечание

Количество

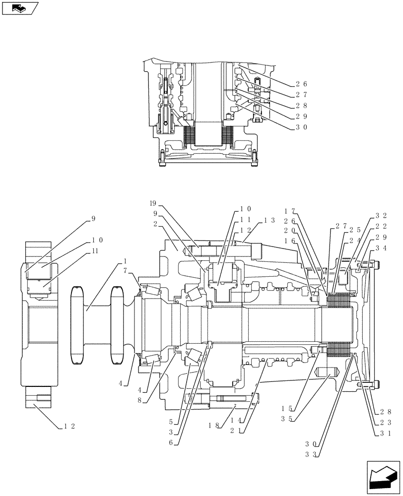
84256617

Rexroth 2 Speed Drive Motor, Includes Ref. 1-35

HYDRAULIC MOTOR

1шт.

84565752R

SR250, SV300, TR320, TV380 all TIER 4A (7/12-), Reman For New P/N 84256617

REMAN-HYD MOTOR,Drive, 470 CC

1шт.

84565752C

Return Number

CORE-MOTOR HYDRAULIC

1шт.

1

84293371

MCR5 2 Speed ASM

DRIVE SHAFT

1шт.

2

84293380

ASM MCR5 Front W Seal

MOTOR HOUSING

1шт.

3

87042903

KIT

Abutment Washer

1шт.

4

87042904

BALL BEARING,70 mm ID x 110 mm OD x 25 mm

70 X 110 X 25

1шт.

5

87042905

BALL BEARING,50mm ID x 110mm OD x 29.25mm W

50 X 110 X 29.25

1шт.

6

87042906

RING

MCR5 Split Ring

1шт.

7

NSS

NOT SOLD SEPARAT

Face Seal 78 X 110 X 12.2 NBR80

1шт.

8

87042907

SEAL

57.15 X 76.2 X 9.53 VITON

1шт.

9

NSS

NOT SOLD SEPARAT

Cylinder Block 2 W

1шт.

10

NSS

NOT SOLD SEPARAT

Roll LD

8шт.

11

NSS

NOT SOLD SEPARAT

Pison S/A

8шт.

12

87042908

CAM

MCR5 Cam 680/470 W 2S

1шт.

13

87042909

CASE

MCR5 R/Case D/2W/S0465

1шт.

14

87042910

DISTRIBUTOR

MCR5 Distributor 2WL

1шт.

15

87042911

PIN

MCR5 Stop Pin S0471

1шт.

16

87042912

SPRING

MCR3 Spring

16шт.

17

87042919

O-RING,1.78mm Thk x 107.67mm ID

Sq. Ring 107.67 X 1.68 VITON FMK 70/80

1шт.

18

NSS

NOT SOLD SEPARAT

Sq. Ring 213 X 2.51 VITON FMK90

2шт.

19

87605313

Screw SH Cap M14 X 80 12.9

HEX SOC SCREW,M14 x 80mm, Cl 12.9

10шт.

20

NSS

NOT SOLD SEPARAT

Shipping Plug 3/4 - 16 UNF

1шт.

21

87602944

Screw SH Cap M8 X 40 12.9

SCREW,M8 x 40mm, Cl 12.9

2шт.

22

87042921

HOUSING

MCR5 Brake Housing B2/2W/12

1шт.

23

87042922

PISTON

MCR3/5 Brake Piston

1шт.

24

NSS

NOT SOLD SEPARAT

MCR3 Outer Plate

16шт.

25

NSS

NOT SOLD SEPARAT

MCR5 Inner Plate

14шт.

26

NSS

NOT SOLD SEPARAT

Shim 80 X 63 X 0.1

1шт.

27

NSS

NOT SOLD SEPARAT

Shim 80 X 63 X 0.3

1шт.

28

NSS

NOT SOLD SEPARAT

MCR3 Gasket B2M 0.5

1шт.

29

NSS

NOT SOLD SEPARAT

Sq. Ring 139.07 X 5.16 VITON FMK70

1шт.

30

87042924

RING

MCR3 Brake Seal Ring B2M

1шт.

31

87042925

CLIP

MCR3 Circlip Int DIA 87

1шт.

32

86512142

HEX SOC SCREW,M12 x 30mm, Cl 12.9, Full Thd

5шт.

33

NSS

NOT SOLD SEPARAT

O-Ring 75.92 X 1.78 VITON FMK 70/80

1шт.

34

87042926

SPRING

Disc Spring

1шт.

35

87042927

PIN

Dowel Pin 12 X 25

3шт.

Выбрано товаров: 38