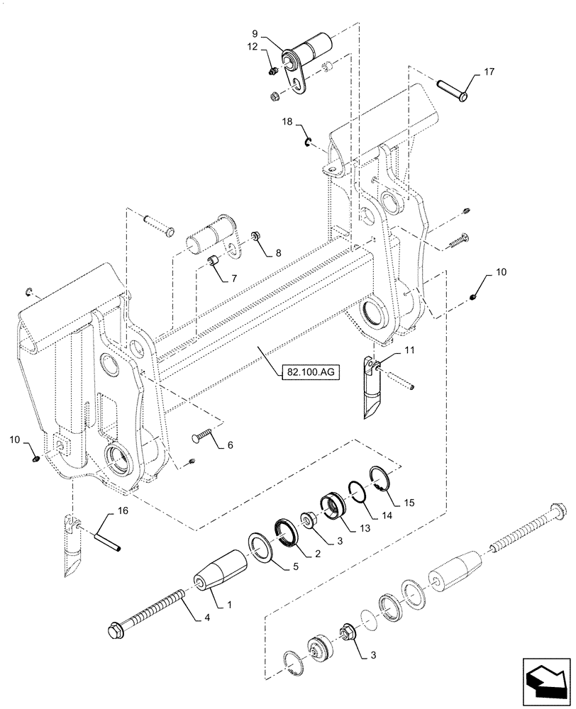
Запчасти Case IH SV300 (82.100.AG[01]) - MOUNTING PARTS, COUPLER (APRIL 20, 2015 AND NEWER) (82) - FRONT LOADER & BUCKET

Схема запчастей Case IH SV300 - (82.100.AG[01]) - MOUNTING PARTS, COUPLER (APRIL 20, 2015 AND NEWER) (82) - FRONT LOADER & BUCKET
82.100.ag
11
3
1
5
7
18
2
17
3
10
4
8
13
10
6
14
15
16
12
9
FIT
1:1
100%

Артикул

Название

Примечание

Количество

1

47777374

PIN,44.43mm OD x 109mm L

Boom to Coupler

2шт.

2

D95143

WIPER SEAL,44.42mm ID x 57.17mm OD x 7.92mm Thk

2шт.

3

87016581

FLANGE NUT,M16 x 2, CI 10

2шт.

4

87015924

BOLT,Hex, M16 x 180mm, Cl 10.9

2шт.

5

87613204

WASHER,1.78" ID x 2.5" OD x 0.12" Thk

, Years: -05-OCT-15

2шт.

5

87613203

WASHER,1.78" ID x 2.5" OD x 0.06" Thk

, Start Year: 06-OCT-15

2шт.

6

86512444

CARRIAGE BOLT,M8 x 1.25 x 40mm, Full Thd, Cl 8.8

2шт.

7

86589143

SPACER,9.5mm ID x 15.9mm OD x 12.7mm L

2шт.

8

86619801

FLANGE NUT,M8 x 1.25, Cl 8

2шт.

9

47687653

PIN,38.15mm OD x 95mm L

Coupler Tip Cylinder

2шт.

10

87414

LUBE NIPPLE,1/4" - 28

4шт.

11

87758365

PIN,31.75mm OD x 142.3mm L

Latch

2шт.

12

80710

LUBE NIPPLE,1/8” – 27 Dryseal PTF

2шт.

13

47751768

PLUG,49.45mm OD x 35mm H

Coupler Hub

2шт.

14

14459080

O-RING,0.103" Thk x 1.737" ID, -132, Cl 5, 75 Duro

2шт.

15

86639140

SNAP RING,M50, Int

2шт.

16

86624093

PIN,9.53mm OD x 63.5mm L

Coiled Spring

2шт.

17

87387540

PIN,12.7mm OD x 67.55mm L

Handle Pivot

2шт.

18

87612753

RETAINER,#50, 0.46", Ext

Circlip

2шт.

Выбрано товаров: 19