Запчасти Case IH 1529 (148) - SCARIFIER

Схема запчастей Case IH 1529 - (148) - SCARIFIER
11
16
26
10
13
29
23
3
2
8
21
30
5
1
15
24
32
17
14
6
27
34
9
28
4
33
12
19
31
25
22
18
7
20
FIT
1:1
100%

Артикул

Название

Примечание

Количество

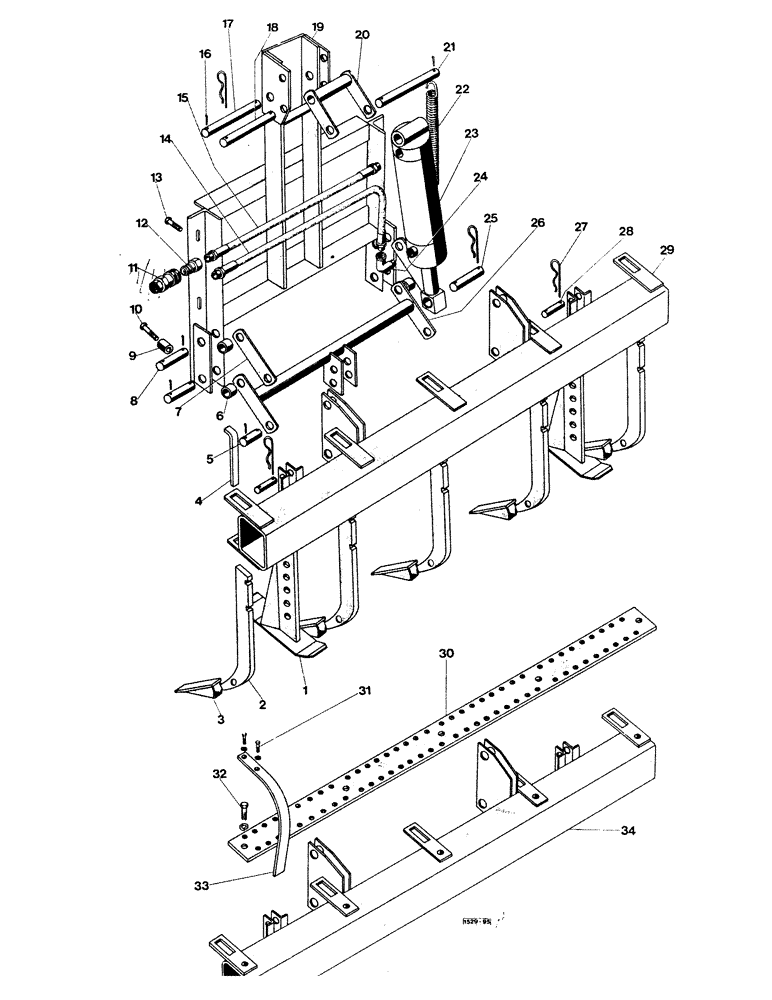
1

T42050

SPARE PART depth control

2шт.

2

T42054

TOOTH

ASSY, Includes: Ref. 3

5шт.

3

K3871

POINT

TOOTH

1шт.

4

T42056

KEY

5шт.

5

T42062

PIN

4шт.

6

T42058

SPACER

4шт.

7

T42037

SPARE PART hitch

2шт.

8

T42041

AXLE PIN

4шт.

9

D53029

SPACER

71345

2шт.

10

113-425

BOLT,Hex, 1/2" - 13 x 3", Gr 5

M3-469

2шт.

195-106

WASHER,1/2"

plain

2шт.

192-23

LOCK WASHER,1/2"

2шт.

129-105

NUT,Hex, 1/2" - 13, Gr 5

2шт.

11

QUICK-CONNECT female

2шт.

12

T41332

COUPLING, BREAK AWAY

male

2шт.

13

113-432

BOLT,Hex, 1/2" - 13 x 4-3/4", Gr 5

BOLT Hex. 1/2" x 4-1/4" N

4шт.

195-106

WASHER,1/2"

plain

4шт.

13

192-23

LOCK WASHER,1/2"

4шт.

129-105

NUT,Hex, 1/2" - 13, Gr 5

4шт.

14

T42064

HOSE ASSY.

1шт.

15

T42063

HOSE

1шт.

16

132-159

COTTER PIN,1/4" x 3"

21шт.

17

T42036

AXLE PIN

1шт.

18

T42036

AXLE PIN

1шт.

19

T42023

SPARE PART

1шт.

20

T42032

HINGE

upper

1шт.

21

T42035

AXLE PIN

1шт.

22

T42060

SPRING

1шт.

23

REF

INSTRUCTION

CYLINDER ASSY see Figure 152

1шт.

24

221-1413

ELBOW,90 Degree, 3/8"-18, NPT

90 degrees 217-1016

1шт.

25

T42041

AXLE PIN

1шт.

26

T42038

WHEEL

LINK lower

1шт.

27

136-251

HAIR PIN COTTER,Int, 7/16" x .177"

Hair

12шт.

28

T42057

AXLE PIN

4шт.

29

T42043

SPARE PART

1шт.

30

E18680

PLATE shank hitch, beach rake

1шт.

31

13-614

BOLT,Hex, 3/8" - 16 x 7/8", Gr 5, Full Thd

Beach rake

72шт.

92-6

LOCK WASHER,3/8"

beach rake

72шт.

32

13-1024

BOLT,Hex, 5/8" - 11 x 1-1/2", Gr 5, Full Thd

Beach rake

5шт.

92-10

LOCK WASHER,5/8"

Beach rake

5шт.

33

E18681

SHANK beach rake

36шт.

34

E18679

TOOL BAR beach rake

1шт.

Выбрано товаров: 42