Запчасти Case IH 1816 (60) - D65642 HYDRAULIC VARIABLE DISPLACEMENT PUMP (35) - HYDRAULIC SYSTEMS

Схема запчастей Case IH 1816 - (60) - D65642 HYDRAULIC VARIABLE DISPLACEMENT PUMP (35) - HYDRAULIC SYSTEMS
FIT
1:1
100%

Артикул

Название

Примечание

Количество

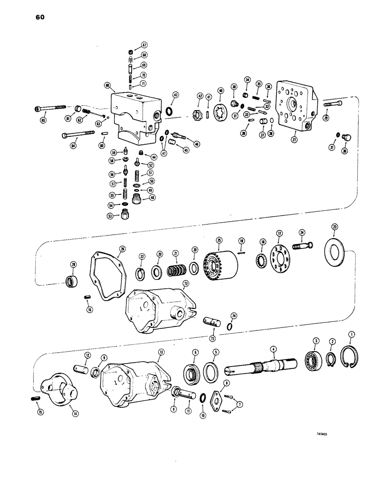
D65642

PUMP

ASSEMBLY, variable displacement, Vickers TA6-50A-11-511, Includes: Ref. 1 - 42

2шт.

1

16242

SNAP RING,1.852", Int, #185

Ring, Snap, , large 1.852", Int, #185

1шт.

2

T25683

SNAP RING,#75, Ext

Ring, Snap, , small #75, Ext

1шт.

3

D46209

BEARING

shaft

1шт.

4

D65610

SHAFT

pump drive

1шт.

5

H204289

SPACER

seal

1шт.

6

H204255

SEAL

shaft

1шт.

Part of Seal Kit P/N D59072

1шт.

7

182-526

SCREW,Cross Pan Hd, #10 - 24 x 3/8"

pan head, 10 - 24 NC x 3/8"

4шт.

8

H255745

PLATE bearing

2шт.

9

H756155

NEEDLE BEARING

BEARING pintle

2шт.

10

D59066

O-RING,0.666" ID x 0.143" OD

SEAL "o"ring

2шт.

Part of Seal Kit P/N D59072

1шт.

11

H255752

PIN

TLE long

1шт.

12

D59068

PINTLE short

1шт.

13

H204248

HOUSING

pump

1шт.

14

H204222

YOKE

1шт.

15

H204214

AXLE PIN

PIN, Serial Range: pintle-yoke

2шт.

16

138-215

LOCK PIN,3/16" x 3/8", Slotted

Pin, , aligning 3/16" x 3/8", Slotted

2шт.

D59065

KIT

pump rotating group, Includes: Ref. 17 - 25

1шт.

17

NSS

NOT SOLD SEPARAT

PLATE shoe

1шт.

18

NSS

NOT SOLD SEPARAT

WASHER spherical

1шт.

19

NSS

NOT SOLD SEPARAT

PIN

3шт.

20

NSS

NOT SOLD SEPARAT

WASHER thrust

2шт.

21

NSS

NOT SOLD SEPARAT

SPRING pressure

1шт.

22

NSS

NOT SOLD SEPARAT

RING snap

2шт.

D59071

KIT

cylinder block and piston, Includes: Ref. 23 - 25

1шт.

23

NSS

NOT SOLD SEPARAT

PLATE swash

1шт.

24

NSS

NOT SOLD SEPARAT

PISTON AND SHOE

9шт.

25

NSS

NOT SOLD SEPARAT

BLOCK cylinder

1шт.

H203729

VALVE

TRANSFER BLOCK AND VALVE ASSEMBLY, pump, Includes: Ref. 26 - 42

1шт.

26

H204172

GASKET

block to pump housing

1шт.

Part of Seal Kit P/N D59072

1шт.

H204123

PLATE ASSEMBLY, valve, Includes: Ref. 27 - 28

1шт.

27

NSS

NOT SOLD SEPARAT

PLATE valve

1шт.

28

H204164

NEEDLE BEARING

BEARING plate

1шт.

29

61-524

HEX SOC SCREW,5/16"-18 x 1 1/2"

SHCS grade 8, 5/16" - 18" NC x 1-1/2"

2шт.

30

H204024

PLUG

valve

2шт.

31

FH736199

O-RING

SEAL "o"ring

2шт.

Part of Seal Kit P/N D59072

1шт.

32

H204040

SPRING

poppet

1шт.

33

H204099

SPOOL

POPPET valve

1шт.

34

221-841

PLUG

square socket, 1/4" pipe

2шт.

35

H204065

SPRING poppet

2шт.

36

H204073

POPPET valve

2шт.

37

D59070

PLUG

valve

2шт.

38

H203810

FILTER ASSY

SEAL "o"ring

2шт.

Part of Seal Kit P/N D59072

1шт.

39

H204057

AXLE PIN

PIN aligning

2шт.

H204339

SEAL ASSY.

KIT, charging pump, Includes: Ref. 40 - 42

1шт.

40

NSS

NOT SOLD SEPARAT

ROTOR outer

1шт.

41

H204081

KEY

shaft

1шт.

42

NSS

NOT SOLD SEPARAT

ROTOR inner

1шт.

43

F62114

O-RING,0.103" Thk x 0.674" ID, -115, Cl 5, 75 Duro

SEAL "o"ring

2шт.

Part of Seal Kit P/N D59072

1шт.

44

221-841

PLUG

square socket, 1/4" pipe

2шт.

Part of Seal Kit P/N D59072

1шт.

45

D59070

PLUG

transfer block

1шт.

46

H203794

PLUNGER

transfer block

1шт.

47

H203810

FILTER ASSY

SEAL "o"ring

2шт.

Part of Seal Kit P/N D59072

1шт.

48

H203877

CAP

poppet

1шт.

49

H203869

SHIM,.020" Thk

Poppet .020" Thk

1шт.

50

H203851

O-RING

SEAL "o"ring

1шт.

Part of Seal Kit P/N D59072

1шт.

51

H203844

VALVE SPRING

SPRING poppet

1шт.

52

H203836

SPOOL

POPPET transfer block

1шт.

53

H203885

CYLINDER END CAP

CAP poppet

1шт.

54

FH736199

O-RING

SEAL "o"ring

1шт.

Part of Seal Kit P/N D59072

1шт.

55

H203901

VALVE SPRING

SPRING poppet

1шт.

56

H203919

AXLE PIN

PIN spring guide, poppet

1шт.

57

D59069

VALVE SPRING

SPRING poppet

1шт.

58

D59073

SEAT

spring, poppet

1шт.

59

H203935

SPOOL

POPPET valve

1шт.

60

138-50

LOCK PIN,1/8" x 5/16", Slotted

PIN, 1/8" x 5/16", Slotted

1шт.

61

221-841

PLUG

square socket, 1/4" pipe

1шт.

62

H203984

VALVE SPRING

SPRING relief

1шт.

63

211-7

BALL,1/4" Dia

relief 1/4" Dia

1шт.

64

13-560

BOLT,Hex, 5/16" - 18 x 3-3/4", Gr 5

HHCS, 5/16" - 18 NC x 1-1/4"

2шт.

65

61-556

SHCS grade 8, 5/16" - 18 NC x 3-1/2" Hex Soc Hd, 5/16"-18 x 3 1/2"

2шт.

66

H203976

BLOCK

transfer

1шт.

H204115

KIT

valve, Includes: Ref. 67 - 71

1шт.

67

H203737

PLUG

poppet

2шт.

68

H203745

GUIDE

poppet

2шт.

69

H203752

SPOOL

POPPET valve

2шт.

70

H203760

VALVE SPRING

SPRING poppet

2шт.

71

H203778

AXLE PIN

PIN guide

2шт.

72

H204248

HOUSING

pump, early production models only

1шт.

73

H204263

PINTLE control, early production models only

2шт.

74

H204271

SEAL "o"ring, early production models only

2шт.

D59072

SEAL

KIT, seal, Includes: Ref. 6, 10, 26, 31, 38, 43, 44, 47, 50 and 54, early production models only

1шт.

Выбрано товаров: 0