Запчасти Case IH 1818 (2-066) - AIR INTAKE SYSTEM, GASOLINE MODELS (02) - ENGINE

Схема запчастей Case IH 1818 - (2-066) - AIR INTAKE SYSTEM, GASOLINE MODELS (02) - ENGINE
10
4
14
2
7
5
11
9
13
12
16
15
10
8
1
7
6
3
FIT
1:1
100%

Артикул

Название

Примечание

Количество

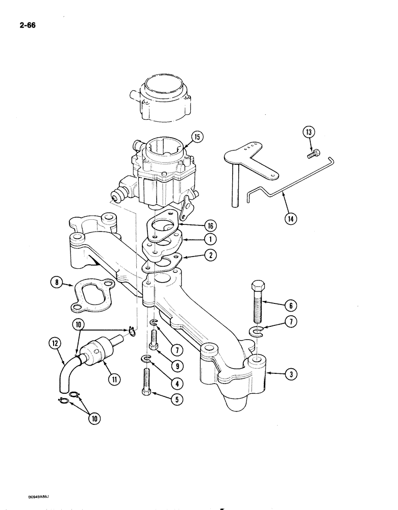
1

N7449

FLANGE

PLATE adapter

1шт.

2

N9612

GASKET

adapter plate to intake manifold

1шт.

3

1959077C1

MANIFOLD

intake

1шт.

4

192-19

LOCK WASHER,Helical Spring, 0.256" ID, CST, ZND

WASHER, LOCK, 1/4"

2шт.

5

113-65

BOLT,Hex, 1/4" - 20 x 1-3/8", Gr 5

hex head, 1/4" - 20 NC x 1-3/8", plated

2шт.

6

113-20

BOLT,Hex, 1/4" - 20 x 4-3/4", Gr 5

hex head, 1/4" - 20 NC x 4-3/4", plated

4шт.

7

192-20

LOCK WASHER,Helical Spring, 0.318" ID, CST, ZND

WASHER, LOCK, 5/16"

6шт.

8

N7453

GASKET

intake manifold

2шт.

9

113-103

BOLT,Hex, 5/16" - 18 x 1", Gr 5

2шт.

10

1959079C1

CLAMP

hose, 1/2" universal

4шт.

11

1959080C1

FILTER, FUEL

FILTER fuel

1шт.

12

1959081C1

FUEL HOSE,0.25" ID x 12.00"

Supply 0.25" ID x 12.00"

1шт.

13

N9609

BOLT

CLIP retaining, control, Serial Range: rod-carburetor

1шт.

14

N7414

ROD

, Serial Range: ROD-carburetor

1шт.

15

1959070C1

CARBURETOR

ASSEMBLY parts list Figure 3-100, Includes: Ref. 16

1шт.

16

N7463

GASKET

carburetor, Serial Range: mounting-adapter

1шт.

Выбрано товаров: 16