Запчасти Case IH 1818 (2-10) - ENGINE SHROUD, GASOLINE MODELS (02) - ENGINE

Схема запчастей Case IH 1818 - (2-10) - ENGINE SHROUD, GASOLINE MODELS (02) - ENGINE
13
8
7
17
15
5
3
19
1
2
4
6
9
6
14
11
12
5
20
16
12
10
18
13
FIT
1:1
100%

Артикул

Название

Примечание

Количество

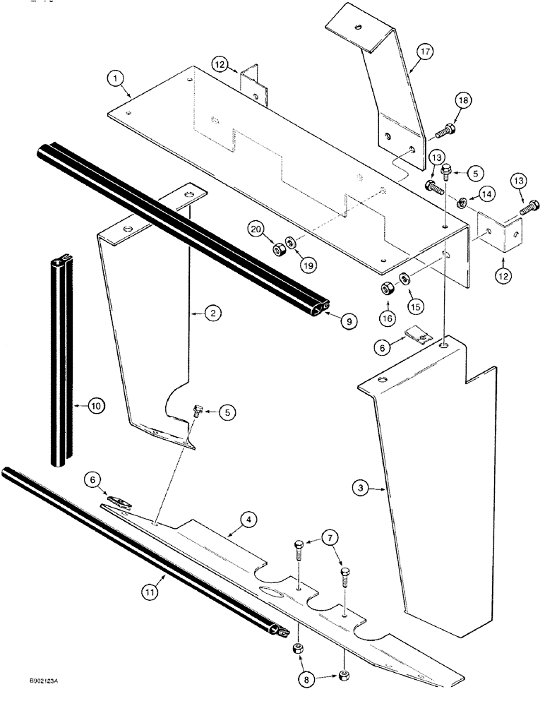
1

E20025

GUARD

SHROUD engine, upper, was P/N D138595

1шт.

2

D138597

SHROUD

engine, left hand side

1шт.

3

D138598

SHROUD

engine, right hand side

1шт.

4

D138596

SHROUD

engine, lower

1шт.

5

121-138

BOLT,Hex Flg, #10-24 x 1/2", Serr

hex flange, self locking, No. 10 NC x 1/2 inch

6шт.

6

131-621

NUT,Ret, J, #10-24

J-type, No. 10 NC

8шт.

7

413-412

BOLT,Hex, 1/4" - 20 x 3/4", Gr 5

- hex, 1/4 NC x 3/4 inch

2шт.

8

230-4114

NUT,1/4"-20, GA

NUT hex, self locking, 1/4 inch NC

2шт.

9

D139535

SEAL

shroud, upper, cut from P/N F43117 bulk seal, 17.5 inch, 445 mm long, see below

1шт.

10

D134958

SEAL

shroud, sides, cut from P/N F43117 bulk seal, 12-1/2 inch, 317 mm long, see below

2шт.

11

D128489

LINING

SEAL shroud, lower, cut from P/N F43117 bulk seal, 19-17/32 inch, 496 mm long, see below

1шт.

12

H437264

BRACKET

engine shroud mounting

2шт.

13

413-512

BOLT,Hex, 5/16" - 18 x 3/4", Gr 5

hex, 5/16 NC x 3/4 inch

4шт.

14

492-11031

LOCK WASHER,5/16"

WASHER, LOCK, 5/16"

2шт.

15

495-81147

WASHER,0.41" ID x 2" OD x 0.11" Thk

flat, 11/32 x 1-1/4 x 1/16 inch

2шт.

16

232-4115

LOCK NUT,5/16"-18, GC

NUT, LOCK, 5/16"-18, GC

2шт.

17

H437265

BRACKET

oil cooler mounting

1шт.

18

413-512

BOLT,Hex, 5/16" - 18 x 3/4", Gr 5

hex, 5/16 NC x 3/4 inch

2шт.

19

195-2175

WASHER,.344" x 1 1/4" x .083"

flat, 11/32 x 1-1/4 x 1/16 inch

2шт.

20

232-4115

LOCK NUT,5/16"-18, GC

NUT, LOCK, 5/16"-18, GC

2шт.

F43117

SEAL

bulk, 100 ft, 30.5 m long

1шт.

Выбрано товаров: 21