Запчасти Case IH 1825 (2-28) - OIL PAN, DIESEL MODELS (02) - ENGINE

Схема запчастей Case IH 1825 - (2-28) - OIL PAN, DIESEL MODELS (02) - ENGINE
3
1
8
2
6
5
9
17
7
4
10
18
16
FIT
1:1
100%

Артикул

Название

Примечание

Количество

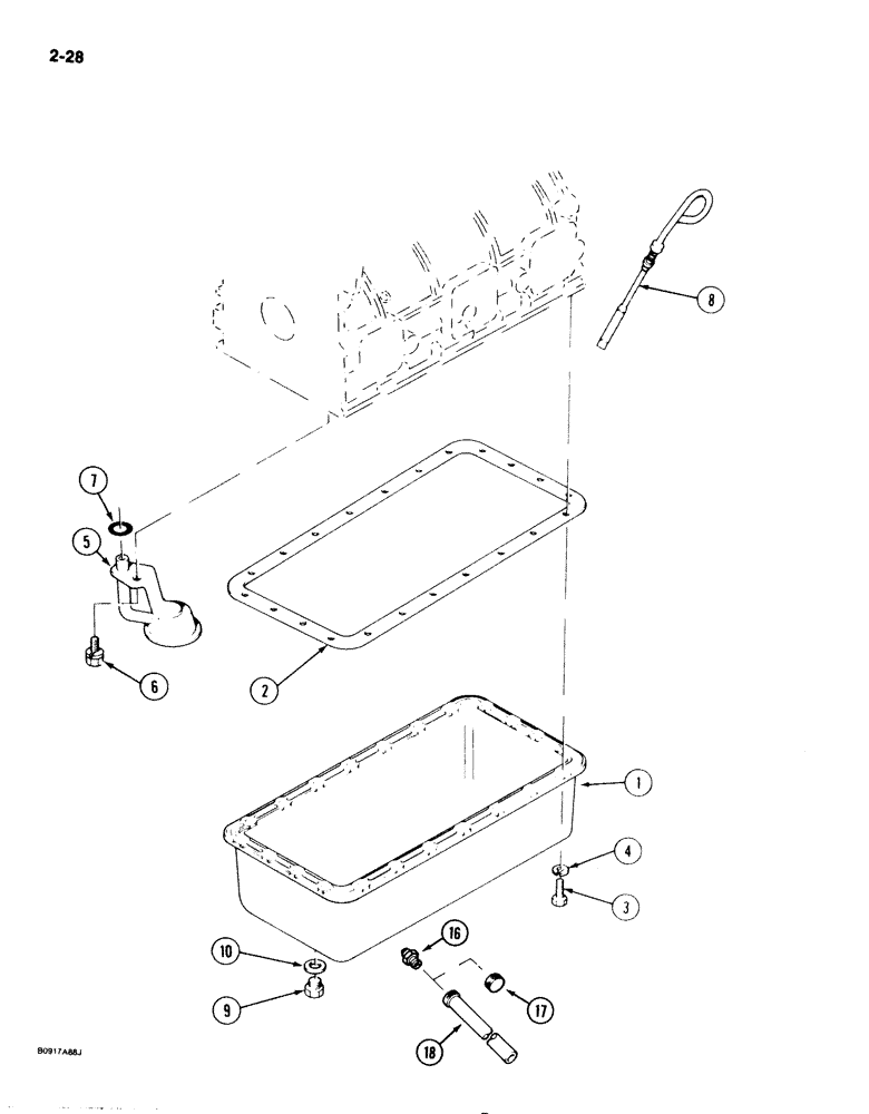
1

1959161C1

SUMP

PAN oil

1шт.

2

1959146C1

GASKET

oil pan

1шт.

3

1959147C1

BOLT

hex, M6 x 19 mm

22шт.

4

1959162C1

LOCK WASHER

head lock, oil pan

22шт.

5

1959198C1

FILTER, ENGINE OIL

FILTER oil, Replaces 1959148C1

1шт.

6

1959164C1

BOLT

oil filter

1шт.

7

1959166C1

O-RING

oil filter

1шт.

8

1959168C1

DIPSTICK

oil, Replaces 1959166C1

1шт.

9

1959149C1

PLUG

drain

1шт.

10

1959150C1

SEALING WASHER

drain plug 12 x 16 x 1.5 mm

1шт.

E20143

PLUG

auto oil drain, TBG, Germany, Includes: Ref. 16 - 18

1шт.

16

NSS

NOT SOLD SEPARAT

VALVE drain

1шт.

17

NSS

NOT SOLD SEPARAT

CAP dust

1шт.

18

NSS

NOT SOLD SEPARAT

TUBE drain

1шт.

Выбрано товаров: 14