Запчасти Case IH 1825B (6-18) - HYDROSTATIC CIRCUIT, BRAKE VALVE, EUROPE (06) - POWER TRAIN

Схема запчастей Case IH 1825B - (6-18) - HYDROSTATIC CIRCUIT, BRAKE VALVE, EUROPE (06) - POWER TRAIN
8
13
23
9
23
9
13
10
5
17
16
11
15
6
9
25
24
25
1
27
9
15
2
19
26
24
21
9
9
9
21
13
3
12
13
4
16
12
14
20
9
7
22
18
14
14
FIT
1:1
100%

Артикул

Название

Примечание

Количество

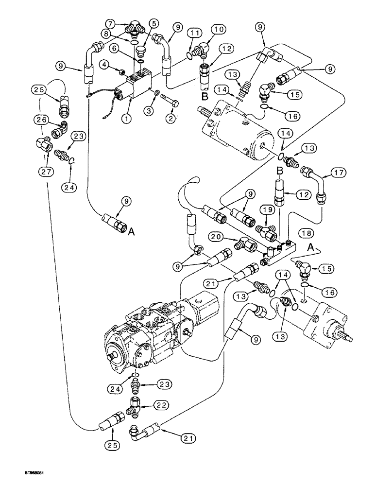
1

187505C91

VALVE

brake, see Figure 6-36

1шт.

2

413-432

BOLT,Hex, 1/4" - 20 x 2", Gr 5

2шт.

3

495-11028

WASHER,1/4", SAE

(9/32 x 5/8 x 1/16")

2шт.

4

231-5144

SERRATED NUT,Flg, USR, 1/4"-20

2шт.

5

9625178

PLUG,9/16" - 18 ORB

Incl. 6

1шт.

6

237-6006

O-RING,0.078" Thk x 0.468" ID, -906, Cl 6, 90 Duro

1шт.

7

L104616

TEE,9/16" - 18 JIC x 9/16" - 18 JIC x 9/16" - 18 ORB

Incl. Ref. 8

1шт.

8

237-6006

O-RING,0.078" Thk x 0.468" ID, -906, Cl 6, 90 Duro

1шт.

9

139534A1

HOSE

350 mm, 13-7/8 in

5шт.

10

218-5105

ELBOW,90 Degree Elbow, 9/16" - 18 Male JIC x 9/16" - 18 Male ORB

Incl. Ref. 11

1шт.

11

237-6006

O-RING,0.078" Thk x 0.468" ID, -906, Cl 6, 90 Duro

1шт.

12

139535A1

HOSE

550 mm, 21-3/4 in

1шт.

13

218-5352

HYD CONNECTOR,9/16"-18, 37 Degree x 7/16"-20, O-Ring

ADAPTER, 9/16 fl x 7/16 Or, Incl. Ref. 14

4шт.

14

237-6004

O-RING,0.072" Thk x 0.351" ID, -904, Cl 6, 90 Duro

1шт.

15

218-5278

ELBOW,9/16" - 18 JIC x 7/16" - 20 ORB

Incl. Ref 16

2шт.

16

237-6004

O-RING,0.072" Thk x 0.351" ID, -904, Cl 6, 90 Duro

1шт.

17

D147229

TUBE

1шт.

18

139527A1

MANIFOLD

1шт.

19

218-5222

TEE,37 Degree, 9/16"-18, x 9/16"-18, Fem Sw Run

1шт.

20

218-980

ELBOW,90 Degree, 9/16"-18, 37 Degree x 9/16"-18, 37 Degree Fem Sw

1шт.

21

223621A1

HOSE

381 mm, 15 in

1шт.

22

218-5488

TEE,37 Degree, 3/4"-16 x 1 1/16"-12, Fem Sw Run x 1 1/16"-12

1шт.

23

218-5064

HYD CONNECTOR,1-1/16" - 12 Male JIC x 1-1/16" - 12 Male ORB

Adapter, Incl. Ref 24

2шт.

24

237-6012

O-RING,0.116" Thk x 0.924" ID, -912, Cl 6, 90 Duro

1шт.

25

223731A1

HOSE

1042 mm, 41-5/8 in

1шт.

26

218-5175

ELBOW,45 Degree Elbow, 1-1/16" - 12 Male JIC x 1-1/16" - 12 Female JIC

ELBOW, 1-1/16-12 in fl x sw, 45°

1шт.

27

218-5231

ELBOW,90 Degree, 1 1/16"-12, 37 Degree x 1 1/16"-12, 37 Degree Fem Sw

1шт.

Выбрано товаров: 27