Запчасти Case IH 1835 (048) - PISTON ASSEMBLY, 188 DIESEL ENGINE (02) - ENGINE

Схема запчастей Case IH 1835 - (048) - PISTON ASSEMBLY, 188 DIESEL ENGINE (02) - ENGINE
FIT
1:1
100%

Артикул

Название

Примечание

Количество

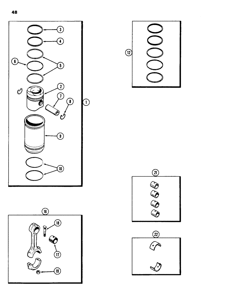
1

A151995

SLEEVE ASSY

PISTON ASSEMBLY, engine, Includes: Ref. 2 thru 10

4шт.

2

A38424

PISTON

engine

1шт.

3

A51189

RING

compression, top groove, see Ref. 12, piston assembly

1шт.

4

G4817

RING

compression, second, groove, see Ref. 12, piston assembly

1шт.

5

G47155

RAIL

oil control ring see Ref. 12, piston assembly

2шт.

6

G47174

SPRING

SPACER oil, control, ring, see Ref. 12, piston assembly

1шт.

7

A35770

PISTON PIN,31.75mm OD x 80.44mm L

PIN piston, assembly

1шт.

8

G46702

RING, LOCKING

RING retaining, piston assembly

2шт.

9

A39006

SLEEVE

piston, assembly

1шт.

10

G46888

O-RING,3.737" ID x 3.943" OD

sleeve, seal, piston assembly

2шт.

12

A151857

PISTON RING SET

SET ring, piston, assembly

4шт.

16

A136931

ROD, CONNECTING

ROD ASSEMBLY, connecting, Includes: Ref. 17 thru 19,connecting rod

4шт.

17

NSS

NOT SOLD SEPARAT

BUSHING, order: Ref. 21, connecting rod

1шт.

18

G49064

STEP BOLT

BOLT rod, cap, connecting rod

2шт.

19

A51904

NUT

NUT cap, bolt, connecting rod

2шт.

21

A44083

KIT

SET bushing, set of 4, connecting rod

1шт.

22

A46050

BEARING LINER,53.66mm ID x 56.82mm OD x 26.67mm W

INSERT rod, bearing, set of 2, standard, connecting rod

4шт.

22

A46051

BEARING LINER

INSERT rod, bearing, set of 2, 0.002 inch (0.051 mm) undersize, connecting rod

4шт.

22

A46052

BEARING LINER,53.4mm ID x 56.82mm OD x 26.67mm W

INSERT rod, bearing, set of 2, 0.010 inch (0.254 mm) undersize, connecting rod

4шт.

22

A46053

BEARING LINER,53.15mm ID x 56.82mm OD x 26.67mm W

INSERT rod, bearing, set of 2, 0.020 inch (0.508 mm) undersize, connecting rod

4шт.

22

A46054

BEARING LINER

INSERT rod, bearing, set of 2, 0.030 inch (0.762 mm) undersize, connecting rod

4шт.

Выбрано товаров: 21