Запчасти Case IH 1835B (3-90) - FUEL INJECTOR NOZZLE, 188 DIESEL ENGINE (03) - FUEL SYSTEM

Схема запчастей Case IH 1835B - (3-90) - FUEL INJECTOR NOZZLE, 188 DIESEL ENGINE (03) - FUEL SYSTEM
FIT
1:1
100%

Артикул

Название

Примечание

Количество

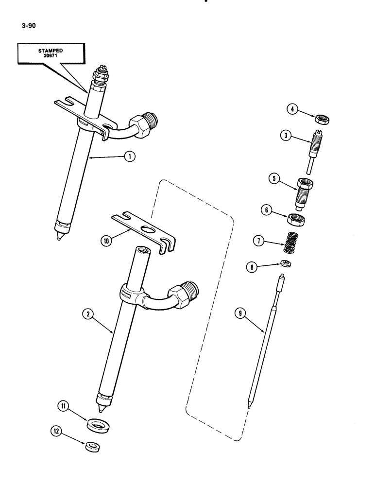
1

AR140829

REMAN-INJECT NOZZLE

NOZZLE ASSEMBLY fuel injector, Remanufactured, North America only

4шт.

1

AC140829

CORE-NOZZLE, INJECT

RETURN NUMBER injector, use this number when returning injector for credit

4шт.

1

A140829

NOZZLE INJECTION

NOZZLE ASSEMBLY fuel injector, New, Stamped 20671 on body White color code, Includes Ref. 2-12

4шт.

Whenever nozzle is removed from head A41403 washer and A41402 seal must be replaced before nozzle is installed back in head.

1шт.

A140829R

REMAN-INJECT NOZZLE

1835B

4шт.

A140829C

CORE-NOZZLE, INJECT

Return Number

1шт.

2

NSS

NOT SOLD SEPARAT

BODY nozzle

1шт.

3

A43599

ADJUSTMENT SCREW,#10 - 56 x 1.39"

SCREW lift adjusting

1шт.

4

A43602

NUT

lock, lift adjusting

1шт.

5

A43600

ADJUSTMENT SCREW,#10 - 56 x 0.68"

SCREW pressure adjusting

1шт.

6

A42424

LOCK NUT

lock, pressure adjusting

1шт.

7

A43733

SPRING

pressure, 9/16 inch, 14 mm, free length, with red stain

1шт.

8

A44369

SEAT

spring

1шт.

9

NSS

NOT SOLD SEPARAT

VALVE nozzle

1шт.

10

A43506

PLATE ASSY.

PLATE hold down

1шт.

11

A41403

WASHER,9.55mm ID x 14.18mm OD x 3.38mm Thk

nylon

1шт.

Whenever nozzle is removed from head A41403 washer and A41402 seal must be replaced before nozzle is installed back in head.

1шт.

12

A41402

SEAL,7.89mm ID x 9.74mm OD x 2.87mm Thk

carbon stop

1шт.

Whenever nozzle is removed from head A41403 washer and A41402 seal must be replaced before nozzle is installed back in head.

1шт.

Выбрано товаров: 19