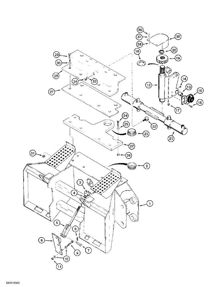
Запчасти Case IH 1838 (9-40) - BACKHOE FRAME AND SWING TOWER, D100 OR D100XR BACKHOE (09) - CHASSIS/ATTACHMENTS

Схема запчастей Case IH 1838 - (9-40) - BACKHOE FRAME AND SWING TOWER, D100 OR D100XR BACKHOE (09) - CHASSIS/ATTACHMENTS
16
25
14
22
26
18
11
36
20
6
3
29
17
10
5
31
32
21
13
28
8
15
37
2
33
7
24
4
34
30
35
19
9
27
1
23
12
38
FIT
1:1
100%

Артикул

Название

Примечание

Количество

H673647

FRAME

ASSEMBLY, backhoe, Includes Ref. 1-2

1шт.

1

NSS

NOT SOLD SEPARAT

FRAME backhoe attachment

1шт.

2

H434397

BUSHING,70.04mm ID x 89mm OD x 32mm L

backhoe frame

1шт.

3

D134787

KNOB

KNOB adjustment, tie rod

2шт.

4

D34666

WASHER,33.34mm ID x 63.5mm OD x 2.38mm Thk

flat, special, hardened, 3/4 inch

2шт.

5

H673638

TRUSS ROD

ROD tie, backhoe frame

2шт.

6

136-164

COTTER PIN,Int, 5/16" x .120"

PIN cotter, hair, 5/16 x 2-25/32 inch

2шт.

7

27-12191

CLEVIS PIN,3/4" x 1.910"

PIN clevis, hardened, 3/4 x 1-7/8 inch, Replaces: A35113

2шт.

8

110905A1

LARGE PLATE

ANCHOR tie rod, right hand

1шт.

8a

110906A1

LARGE PLATE

ANCHOR tie rod, left hand, not shown

1шт.

9

426-844

BOLT,Hex, 1/2" - 13 x 2-3/4", Gr 8

- hex, 1/2 NC x 2-3/4 inch, grade 8

6шт.

10

496-21053

WASHER,17/32" x 1 1/16" x .134"

flat, hardened, 17/32 x 1-1/16 x 1/8 inch

12шт.

11

232-4118

NUT,1/2"-13, GC

NUT, LOCK, 1/2"-13, GC

6шт.

H672641

POST

TOWER ASSEMBLY, swing, backhoe, Includes Ref. 12-13

1шт.

12

NSS

NOT SOLD SEPARAT

TOWER swing

1шт.

13

H56192

BUSHING,28.91mm ID x 36.63mm OD x 44.45mm L

tower

2шт.

14

219-8

LUBE NIPPLE,1/4" - 28 NPTF

NIPPLE, LUBE, , straight, taper 1/4"-28 NPT x .54" lg

3шт.

15

H625756

BRACKET

BUMPER rubber, pin retainer and swing cushion

2шт.

16

413-820

BOLT,Hex, 1/2" - 13 x 1-1/4", Gr 5

- hex, 1/2 NC x 1-1/4 inch

4шт.

17

230-4218

LOCK NUT,1/2"-13, GA

NUT hex, self locking, 1/2 inch NC

4шт.

18

H434429

BLOCK

SHIM swing gear

1шт.

19

H434489

PINION

GEAR swing

1шт.

20

100-11212

SNAP RING,#212, Ext

Ring, Snap, , swing gear (Replaces L59033) #212, Ext

2шт.

21

H514125

CYLINDER ASSY.

CYLINDER ASSEMBLY, swing, 70 mm, 2-3/4 inch ID x 203 mm, 8 inch stroke, parts list Figure 8-62

1шт.

22

H672652

PLATE

ASSEMBLY, bushing mounting, Includes Ref. 23

1шт.

23

H434397

BUSHING,70.04mm ID x 89mm OD x 32mm L

mounting plate

1шт.

24

413-1236

BOLT,Hex, 3/4" - 10 x 2-1/4", Gr 5

- hex, 3/4 NC x 2-1/4 inch

2шт.

25

D34666

WASHER,33.34mm ID x 63.5mm OD x 2.38mm Thk

flat, special, hardened, 3/4 inch

2шт.

26

231-42112

NUT,3/4"-10, GB

NUT hex, self locking, 3/4 inch NC

2шт.

27

H434386

LARGE PLATE

PLATE lower, cylinder mounting bracket

1шт.

28

H433142

LARGE PLATE

BRACKET swing cylinder mounting

1шт.

29

413-1256

BOLT,Hex, 3/4" - 10 x 3-1/2", Gr 5

4шт.

30

D34666

WASHER,33.34mm ID x 63.5mm OD x 2.38mm Thk

flat, special, hardened, 3/4 inch

4шт.

31

231-42112

NUT,3/4"-10, GB

NUT hex, self locking, 3/4 inch NC

4шт.

32

H434525

GUIDE

rack, swing, Serial Range: cylinder-bracket

1шт.

33

495-11066

WASHER,5/8", SAE

flat, 21/32 x 1-5/16 x 3/32 inch

1шт.

34

230-47110

LOCK NUT,5/8"-18, GB

NUT, LOCK, 5/8"-18, GB

1шт.

35

H672647

COVER

swing gear

1шт.

36

413-516

BOLT,Hex, 5/16" - 18 x 1", Gr 5

- hex, 5/16 NC x 1 inch

2шт.

37

496-11034

WASHER,11/32" x 11/16" x 1/16", HDN

flat, hardened, 11/32 x 11/16 x 1/16 inch, Replaces H426775

2шт.

38

230-4215

NUT,5/16"-18, GA

NUT hex, self locking, 5/16 inch NC

2шт.

Выбрано товаров: 41