Запчасти Case IH 1838 (3-18) - REMOTE FUEL FILTER (03) - FUEL SYSTEM

Схема запчастей Case IH 1838 - (3-18) - REMOTE FUEL FILTER (03) - FUEL SYSTEM
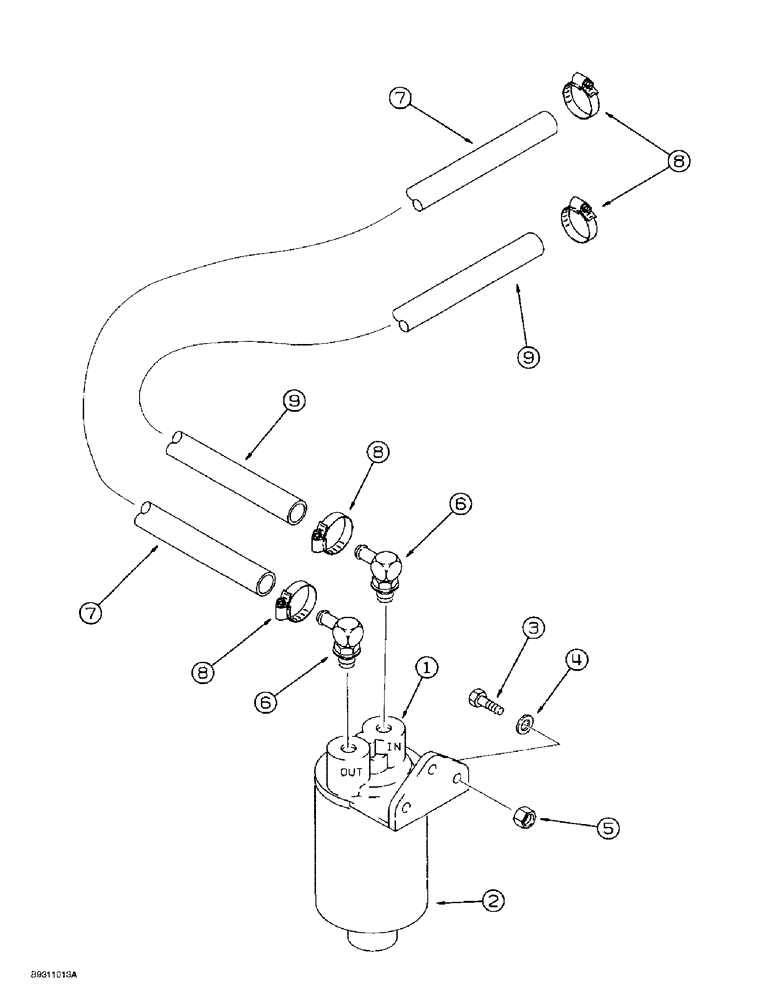
6
4
1
6
7
5
9
8
9
8
8
2
7
3
FIT
1:1
100%

Артикул

Название

Примечание

Количество

114545A1

FILTER ASSY

FILTER ASSEMBLY, remote fuel, Includes Ref. 1-2

1шт.

1

NSS

NOT SOLD SEPARAT

HEAD filter

1шт.

2

J843760

FILTER

fuel

1шт.

3

413-416

BOLT,Hex, 1/4" - 20 x 1", Gr 5

hex, 1/4 NC x 1 inch

3шт.

4

H426767

WASHER

flat, hardened, 9/32 x 5/8 x 3/64 inch

3шт.

5

231-5144

SERRATED NUT,Flg, USR, 1/4"-20

3шт.

6

217-295

FITTING,90 Degree Elbow, 5/16" Hose Barb x 1/4" Male NPTF

ELBOW 90 degree, 5/16 stem end x 1/4 inch PT

2шт.

7

131068A1

FUEL HOSE,7.94 mm ID x 500.00 mm, SAE 30R2 TYPE 1

Cut From S120317X Bulk Hose, Fuel Filter To Fuel Injection Pump, See Below 7.94 mm ID x 500.00 mm, SAE 30R2 TYPE 1

2шт.

8

214-1704

HOSE CLAMP,#04, 0.25" - 0.62", Type M Worm

CLAMP, HOSE, , Adjustable #4, 0.25/0.62 Type M Worm

4шт.

9

131067A2

HOSE

cut from S120317X bulk hose, transfer pump to fuel filter, see below, 400 mm, 15-3/4 inch long

1шт.

S120317X

HOSE

bulk, 8 5/16 ID x 7620 mm, 300 inch long

1шт.

Выбрано товаров: 11